
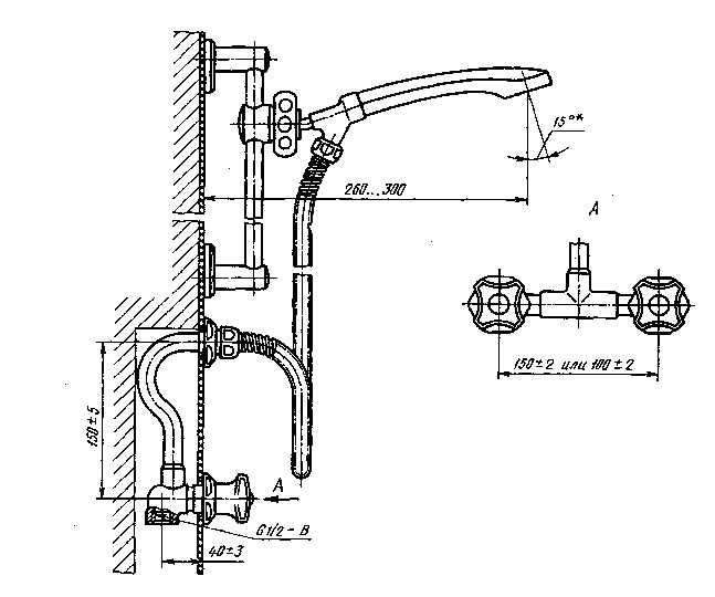
Присоединительный размер 1/2 у смесителя обозначает диаметр резьбового соединения, который составляет 1/2 дюйма, что примерно равно 15 миллиметрам. Этот размер является одним из самых распространённых стандартов в сантехнических изделиях и используется для подключения смесителей к водопроводным трубам или гибким подводкам.
Размер 1/2″ соответствует внутреннему диаметру резьбы по стандарту BSP (British Standard Pipe) или метрической резьбе с аналогичными параметрами, что обеспечивает универсальность и совместимость с большинством водопроводных систем в жилых помещениях. Правильный выбор присоединительного размера важен для герметичности и надежности соединения, предотвращения протечек и повреждений.
Рекомендации при выборе смесителя с размером 1/2: проверяйте тип резьбы и совместимость с вашей трубой, используйте качественные уплотнители (например, фум-ленту или сантехнический лен), а также убедитесь, что фитинги соответствуют стандартам ГОСТ или DIN. Это гарантирует долгую службу оборудования без необходимости частых ремонтов.
Что такое присоединительный размер 1/2 у смесителя
Основные характеристики присоединительного размера 1/2:
- Тип резьбы – чаще всего это стандарт BSP (British Standard Pipe) с шагом резьбы 14 ниток на дюйм;
- Внутренний диаметр – около 15 мм, внешний диаметр резьбы – примерно 21 мм;
- Часто используется в бытовых водопроводах для подачи холодной и горячей воды;
- Обеспечивает надежное соединение без протечек при правильной установке.
Рекомендации по выбору и использованию присоединения 1/2:
- Перед покупкой смесителя уточните диаметр труб или гибких подводок для совместимости с 1/2 дюйма;
- Используйте уплотнительные материалы (фум-ленту или паклю) для герметизации резьбы;
- Для монтажа применяйте гаечный ключ с контролем усилия, чтобы избежать повреждения резьбы;
- Если трубы имеют другой размер, используйте переходники с 1/2 на нужный диаметр;
- Проверяйте стандарты резьбы в регионе, так как некоторые страны используют метрическую резьбу вместо BSP.
Таким образом, присоединительный размер 1/2 у смесителя – это практичный и распространенный стандарт, обеспечивающий универсальность и надежность подключения к системам водоснабжения.
Как измерить присоединительный размер 1/2 у смесителя

Присоединительный размер 1/2 у смесителя обозначает внутренний диаметр резьбы на выходном патрубке, который соответствует 1/2 дюйма (около 15 мм). Для точного измерения понадобится штангенциркуль или металлическая линейка с миллиметровой шкалой.
Шаг 1. Снимите срез резьбы на выходном патрубке смесителя. Если установлен переходник или аэратор, удалите их для доступа к резьбе.
Шаг 2. Измерьте внутренний диаметр резьбы, то есть расстояние между противоположными внутренними стенками резьбы. Именно этот параметр соответствует присоединительному размеру.
Важно: внутренний диаметр резьбы для 1/2 дюйма обычно составляет 20 мм, так как номинальный размер указывается в дюймах, а фактический диаметр резьбы больше. Ошибки измерения могут возникать при измерении внешнего диаметра, который будет около 21–22 мм.
Шаг 3. При отсутствии штангенциркуля используйте нитку или тонкую проволоку, аккуратно обмотайте ею внутреннюю часть резьбы, затем разверните и измерьте длину линейкой. Разделите длину на количество витков резьбы, чтобы убедиться в размере.
Для стандартного присоединительного размера 1/2 дюйма применяют резьбу G1/2 (BSP) с шагом 1,814 мм. Убедитесь, что выбранное соединение соответствует именно этому стандарту.
Какие виды резьбы используются для размера 1/2 у смесителей

Для присоединительного размера 1/2 дюйма у смесителей применяются два основных типа резьбы – трубная цилиндрическая (G) и конусная коническая (R). Резьба G соответствует стандарту BSPP (British Standard Pipe Parallel), она цилиндрическая, имеет параллельные витки и используется вместе с уплотнительными кольцами или прокладками для герметизации. Обычно применяется на внутренней резьбе корпуса смесителя и на гибких подводках.
Резьба R – это коническая трубная резьба BSPT (British Standard Pipe Tapered), где витки сужаются по направлению вкручивания, обеспечивая плотное соединение без дополнительных уплотнителей. Такая резьба встречается чаще на наружных соединениях труб и фитингов, требующих герметичности за счет плотного вкручивания.
В сантехнике для 1/2 чаще всего используют резьбу G 1/2″ для подключения смесителей к водопроводу и резьбу R 1/2″ для соединения с гибкими шлангами и переходниками. Для правильного выбора резьбы важно точно измерить диаметр и профиль резьбы, так как несовпадение типов приводит к протечкам или повреждению соединения.
При монтаже рекомендуется применять уплотнительные материалы, соответствующие типу резьбы: льняную паклю или фум-ленту для конических резьб R 1/2, резиновые прокладки для цилиндрических G 1/2. Это гарантирует надежность и долговечность соединения без необходимости чрезмерного усилия при сборке.
Совместимость фитингов и труб с присоединительным размером 1/2
Присоединительный размер 1/2″ (обычно 1/2 дюйма) соответствует внешнему диаметру резьбы около 21 мм по стандарту BSP (British Standard Pipe) или G. Важно учитывать, что трубная резьба 1/2″ чаще всего используется для сантехнических соединений, в том числе для смесителей, гибких подводок и труб из различных материалов.
Фитинги с 1/2″ резьбой совместимы с трубами из меди, полипропилена, металлопластика и нержавеющей стали, при условии совпадения стандарта резьбы. При выборе соединительных элементов нужно ориентироваться на тип резьбы – чаще это внутренняя (внутренняя резьба фитинга) и наружная (наружная резьба трубы или гибкой подводки).
Для труб из ППР рекомендуется использовать переходники с наружной резьбой 1/2″, предназначенные специально для сварки или пайки. Металлопластиковые трубы соединяются с фитингами 1/2″ через компрессионные или цанговые муфты, обеспечивающие герметичность без дополнительной прокладки.
Резьбовые соединения с 1/2″ размером требуют обязательного использования уплотнителей: льняной пакли с пастой, ФУМ-ленты или резиновых прокладок. Это предотвращает протечки и гарантирует надежность монтажа.
Несовместимость возникает при попытке соединить фитинги с дюймовым размером 1/2″ BSP с американской резьбой NPT, которая отличается углом наклона и шагом резьбы. В таких случаях необходим переходник или адаптер.
Как выбрать смеситель с присоединительным размером 1/2 для кухни и ванной

Присоединительный размер 1/2 дюйма – стандартный диаметр резьбы для подключения большинства кухонных и ванных смесителей к водопроводным трубам. Выбор смесителя с таким размером требует учета нескольких технических и функциональных параметров.
- Тип подключения: Убедитесь, что резьба на смесителе соответствует 1/2 дюйма (обычно это внутренняя резьба G1/2). Важно, чтобы и трубы, и крепежные элементы совпадали по диаметру для герметичного соединения без переходников.
- Длина и гибкость подводки: Для кухни лучше выбирать смесители с гибкими шлангами длиной не менее 35 см, чтобы обеспечить удобство монтажа и эксплуатации. В ванной допустимы более короткие подводки, но учитывайте расстояние до стояков.
- Материал и устойчивость к коррозии: Для длительной эксплуатации выбирайте смесители из латуни с хромированным покрытием или нержавеющей стали. Пластик и дешевые сплавы могут быстро изнашиваться при высоком давлении и контакте с водой.
- Тип управления: Однорычажные смесители быстрее регулируют температуру, что удобно на кухне. В ванной популярны и двухвентильные модели, но при условии качественной сборки и надежных прокладок.
- Совместимость с аэратором: Важно, чтобы смеситель имел стандартный выход под аэратор с резьбой 24 мм (M24x1), что часто встречается у моделей с 1/2 присоединением. Это улучшит качество струи и снизит расход воды.
- Установка и монтаж: Смесители с присоединением 1/2 обычно монтируются на стандартные отверстия в мойках и раковинах. Проверьте глубину посадочного места и возможность использования стандартных гаек для надежной фиксации.
- Наличие сертификатов и гарантий: Выбирайте продукцию с подтвержденным качеством (например, ГОСТ или европейские стандарты), чтобы избежать протечек и поломок, особенно в условиях повышенной влажности ванной комнаты.
Правильно выбранный смеситель с присоединительным размером 1/2 обеспечит надежную и долговечную работу без дополнительных переходников и сложных монтажных решений. Фокусируйтесь на соответствии технических параметров и материала, а не на внешнем дизайне.
Типичные ошибки при монтаже смесителей с размером 1/2
Неправильное затягивание фитингов – ещё одна частая причина проблем. Излишнее усилие при монтаже вызывает деформацию уплотнителей и резьбы, что ведёт к повреждениям и протечкам. Для резьб с присоединительным размером 1/2 дюйма оптимален момент затяжки около 15-20 Нм, в зависимости от материала деталей.
Отсутствие очистки резьбы перед сборкой ухудшает герметичность соединения. Следует тщательно удалить грязь, ржавчину и остатки старых уплотнителей, иначе новый смеситель не будет плотно прилегать.
Ошибка при выборе переходников и адаптеров. Использование неподходящих элементов с другим наружным или внутренним диаметром приводит к неправильной посадке и протечкам. Для 1/2-дюймового подключения важно подбирать переходники с точным соответствием стандарту BSP или метрической резьбе, в зависимости от модели смесителя.
Неправильное направление и расположение смесителя при монтаже. При установке без учёта положения трубопровода могут возникнуть лишние напряжения на соединениях, что со временем приводит к поломке или подтеканию. Монтаж должен предусматривать естественное направление потока и удобство обслуживания.
Отсутствие проверки давления воды перед установкой. Для смесителей с размером 1/2 дюйма максимальное рабочее давление обычно не должно превышать 6 атмосфер. Превышение давления без использования редуктора приводит к быстрому износу внутренних деталей и протечкам.
Особенности уплотнителей для соединений 1/2 у смесителей
Соединения 1/2 дюйма у смесителей требуют уплотнителей с высокой герметичностью и устойчивостью к воздействию воды и температуры. Чаще всего используются фторопластовые (ФУМ) ленты и резиновые прокладки из EPDM или силикона.
ФУМ-лента обеспечивает надежное уплотнение резьбовых соединений, не деформируется и сохраняет эластичность при перепадах температуры от -50°C до +200°C. Для качественного монтажа рекомендуется обматывать резьбу 3-4 слоями ленты, избегая перекрытия и сдвига при сборке.
Резиновые прокладки применяются преимущественно в сальниковых и фланцевых соединениях 1/2 дюйма. EPDM-прокладки выдерживают агрессивные среды и температуры до 120°C, сохраняют эластичность и не теряют герметичность при многократных разборках. Силиконовые прокладки рекомендуются в случаях высокой химической активности воды или при использовании смесителей с горячей водой свыше 90°C.
Для оптимальной герметизации соединений 1/2 важно использовать уплотнители, соответствующие стандартам DIN или ГОСТ, а также проверять отсутствие повреждений перед установкой. Неправильный выбор или износ уплотнителя приводит к течам и снижению срока службы смесителя.
Как проверить герметичность соединения 1/2 у смесителя

Для проверки герметичности соединения 1/2 дюйма у смесителя необходимо последовательно выполнить несколько точных действий. Сначала отключите подачу воды на подводящих трубах. Затем аккуратно отверните гайку присоединительного размера 1/2, используя подходящий гаечный ключ, чтобы не повредить резьбу.
Осмотрите уплотнительное кольцо или прокладку на наличие трещин, деформаций или загрязнений. При необходимости замените уплотнитель на новый, соответствующий диаметру 1/2 дюйма и материалу соединения.
После повторной сборки затяните гайку с усилием, рекомендованным производителем смесителя, обычно 10-15 Н·м, чтобы избежать чрезмерного давления и деформации деталей.
Откройте подачу воды и внимательно осмотрите место соединения на предмет появления капель или влаги. Для повышения точности проверки можно использовать бумажную салфетку или сухую тряпку, приложив её к соединению – при появлении влажных пятен герметичность нарушена.
Если визуально подтеков не видно, но есть сомнения, используйте мыльный раствор: нанесите его на место соединения и при появлении пузырьков обнаружите микроподтекания. В случае выявления протечек повторите процедуру замены уплотнителя и правильного затягивания.
Альтернативы присоединительному размеру 1/2 и их применение
Присоединительный размер 1/2 дюйма – стандарт для большинства бытовых смесителей, однако в ряде случаев требуется использование других размеров. Например, 3/8 дюйма часто применяется в современных компактных устройствах, где важна минимизация габаритов и снижение расхода воды. Такой размер подходит для точечных установок и смесителей с ограниченным пространством подключения.
Размер 3/4 дюйма используется в системах с повышенным расходом воды, например, в промышленных и коммерческих сантехнических решениях, а также в некоторых моделях душевых систем, требующих устойчивой подачи воды высокого объёма.
1/2 дюйма заменяется также метрическими резьбами, например, G15 или M20, которые часто встречаются в европейских и азиатских стандартах. Важно учитывать тип резьбы (внутренняя или наружная) и ее шаг, чтобы обеспечить герметичное соединение без утечек.
Для ремонта и модернизации старых систем иногда применяются переходники с 1/2 на 3/8 или 3/4 дюйма. Их выбор зависит от фактических условий монтажа и технических характеристик оборудования. Использование переходников требует обязательной проверки совместимости уплотнительных материалов и размеров резьбы.
Рекомендация: при выборе альтернативного присоединительного размера следует учитывать не только диаметр, но и рабочее давление, материал трубопровода и требования к долговечности соединения. Для бытовых нужд оптимальны 1/2 и 3/8 дюйма, для профессиональных – 3/4 дюйма и выше.
Вопрос-ответ:
Что означает присоединительный размер 1/2 у смесителя?
Присоединительный размер 1/2 у смесителя указывает на диаметр резьбы или трубы, к которой он подключается. Обычно это обозначает, что соединение рассчитано на трубопровод с диаметром 1/2 дюйма, что является стандартом для бытовых водопроводных систем.
Почему именно 1/2 дюйма используется у большинства смесителей?
Диаметр 1/2 дюйма выбран потому, что он обеспечивает достаточный поток воды для большинства бытовых нужд, таких как умывальники и кухонные мойки. Такой размер хорошо подходит для стандартных водопроводных труб, сочетая удобство монтажа и надежность работы системы.
Можно ли заменить смеситель с присоединительным размером 1/2 на смеситель с другим размером подключения?
Теоретически возможно, но это требует использования переходников или изменения трубопроводной разводки. Такие меры могут усложнить монтаж и повысить риск протечек, поэтому лучше подбирать смеситель с соответствующим стандартным размером подключения.
Как проверить, что у моего смесителя присоединительный размер именно 1/2?
Для этого можно использовать обычный штангенциркуль или линейку и измерить внутренний или внешний диаметр резьбового соединения. Также можно посмотреть документацию к смесителю или проконсультироваться с продавцом, так как у большинства производителей указаны параметры подключения.
Влияет ли присоединительный размер 1/2 на давление и расход воды из смесителя?
Да, диаметр подключения влияет на поток воды. Размер 1/2 дюйма обычно обеспечивает оптимальное соотношение между давлением и расходом для бытовых условий. Если диаметр будет меньше, вода может поступать с меньшим объемом, а если больше — это может не дать заметного улучшения из-за ограничений системы подачи.
Что означает присоединительный размер 1/2 у смесителя и почему именно этот размер используется чаще всего?
Присоединительный размер 1/2 дюйма — это стандартный диаметр резьбы на входе смесителя, предназначенный для подключения к водопроводным трубам или гибким шлангам. Этот размер выбран из-за своей универсальности и распространённости в бытовых системах водоснабжения. Он обеспечивает надежное соединение и подходит для большинства сантехнических приборов, что упрощает установку и замену смесителей без необходимости подбирать дополнительные переходники или адаптеры.
Как правильно подобрать присоединительный размер смесителя, если у меня нестандартные трубы в квартире?
Если трубы в вашем доме имеют нестандартный диаметр, важно сначала точно измерить внутренний или внешний диаметр труб и тип резьбы. Размер 1/2 дюйма — это стандарт, но иногда могут встречаться трубы 3/4 дюйма или другие размеры. В таких случаях используют переходники или специальные фитинги, которые позволяют соединить смеситель с трубой без утечки. Перед покупкой смесителя стоит проконсультироваться с сантехником или внимательно изучить техническую документацию, чтобы подобрать правильные комплектующие и избежать проблем при монтаже.
