
В условиях роста энергопотребления бытовых устройств и увеличения нагрузки на электросети, однофазное подключение мощностью до 15 кВт часто перестает справляться с реальными потребностями. Подключение трехфазного электроснабжения позволяет увеличить доступную мощность до 25 кВт и более, обеспечивая стабильную работу электрооборудования без перегрузок и просадок напряжения.
Трехфазная сеть особенно актуальна при использовании энергоемких систем: электрокотлов, варочных панелей, насосного оборудования, зарядных станций для электромобилей. Кроме того, распределение нагрузки по фазам позволяет снизить вероятность аварийных отключений и повысить срок службы кабельных линий и автоматических выключателей.
Подключение трех фаз требует согласования с сетевой организацией и выполнения технических условий, включая установку вводного распределительного устройства, устройства защитного отключения (УЗО) на каждую фазу и системы уравнивания потенциалов. Минимальное сечение кабеля от столба к дому при мощности от 15 до 25 кВт – 5×6 мм² при медных жилах, что также нужно учитывать при проектировании.
Если в доме отсутствует электрощит, разделение нагрузки на фазы следует планировать заранее: к первой фазе – освещение и розетки, ко второй – кухонные приборы, к третьей – отопление и водонагреватели. Такой подход уменьшает перекос фаз и предотвращает дисбаланс в работе системы.
Когда и зачем нужен переход на трёхфазное питание в частном доме

Переход на трёхфазное электроснабжение оправдан в случаях, когда суммарная мощность бытового и инженерного оборудования превышает 10–15 кВт. Однофазная сеть ограничена по току и зачастую не справляется с высокими пусковыми нагрузками.
- Электроотопление: водяные и электрические котлы свыше 6 кВт требуют равномерного распределения нагрузки. Трёхфазное подключение предотвращает перегрузку и обеспечивает стабильную работу.
- Насосные станции и скважинные насосы: модели мощностью от 2,5 кВт нередко выпускаются в трёхфазном исполнении. Это снижает пусковые токи и увеличивает срок службы оборудования.
- Плиты и варочные панели: большинство индукционных и электрических плит от 7 кВт требуют трёхфазного подключения для равномерной нагрузки по фазам.
- Мастерские, дерево- и металлообработка: станки, компрессоры и сварочные аппараты часто поставляются в трёхфазной модификации. Работа через фазосдвигающие устройства не всегда стабильна.
- Запас по мощности: при подключении 15 кВт и более (например, 380 В × 25 А) возможно планировать развитие инфраструктуры – баня, электрокотёл, зарядная станция для электромобиля.
Если при однофазной схеме регулярно выбивает автомат при включении нескольких мощных приборов, наблюдается просадка напряжения или заметное мигание света при запуске насоса, это прямые признаки необходимости перехода на трёхфазную сеть. Важно заранее оценить общую мощность оборудования и подать заявку в сетевую организацию на увеличение лимита и изменение схемы подключения.
Как проверить техническую возможность подключения трёх фаз

Первый шаг – уточнение информации в вашей сетевой организации. Обратитесь в РЭС (район электрических сетей) или иную организацию, обслуживающую ваш населённый пункт. Укажите точный адрес объекта и запросите данные о ближайшей линии электропередачи: количество фаз, напряжение, загруженность трансформатора.
Если рядом проходит линия 0,4 кВ с тремя фазами, это не гарантирует возможность подключения. Необходимо выяснить наличие свободной мощности. Запросите расчет текущей нагрузки на трансформатор и свободный резерв мощности. Эти данные выдаются по письменному запросу или через личный кабинет на сайте сетевой компании.
Проверьте расстояние от вашего участка до ближайшей опоры линии с тремя фазами. Если оно превышает 300 метров, подключение может потребовать значительных инвестиций или будет отклонено. Измерение проводится по трассе прокладки кабеля, а не по прямой.
Уточните категорию электроснабжения в проектной документации. Для домов с подключением свыше 15 кВт потребуется переход на трёхфазную сеть. При этом не каждая линия 0,4 кВ технически способна обеспечить такую мощность.
Наличие трёхфазной линии – не всё. Требуется свободный порт в ближайшем РУ (распределительном устройстве). При перегрузке существующих автоматов или отсутствии места потребуется модернизация щита, что увеличит сроки и стоимость.
Попросите копию топологической схемы участка электросетей в районе подключения. Это поможет оценить реалистичность подключения и спрогнозировать маршруты прокладки новых кабельных линий, если потребуется расширение сети.
Заключительный этап – получение технических условий. В них будет указано, возможно ли трёхфазное подключение, при каких условиях, с какими ограничениями и в какие сроки. Без этого документа проектирование и монтаж невозможны.
Порядок подачи заявки в сетевую организацию на изменение типа подключения
Для перехода на трёхфазное электроснабжение необходимо официально обратиться в сетевую организацию с заявкой на изменение технических условий подключения. Заявление подаётся через личный кабинет на портале Портал ТП (https://портал-тп.рф) или непосредственно в офисе сетевой компании.
1. Подготовка документов: потребуется паспорт, правоустанавливающие документы на объект, схема электроснабжения, доверенность (при подаче через представителя). Также необходимо указать текущую и требуемую мощность, например, увеличение с 5 кВт (однофазное) до 15 кВт (трёхфазное).
2. Заполнение заявления: в заявке указывается номер лицевого счёта или кадастровый номер участка, точный адрес объекта, предполагаемая нагрузка, категория надёжности. Обязательно отметить, что требуется изменение с однофазного на трёхфазное подключение.
3. Отправка заявки и контроль статуса: после подачи система присваивает заявке номер. Важно отслеживать её статус, так как может потребоваться дополнительная информация или корректировка.
4. Получение технических условий: срок предоставления – до 15 рабочих дней. В технических условиях указываются параметры подключения, требования к вводу, тип счётчика, схема заземления и точка присоединения.
5. Подписание договора и оплата: при согласии с условиями подписывается договор технологического присоединения и производится оплата (обычно – 550 рублей для физлиц при мощности до 15 кВт).
6. Выполнение технических условий: после подписания и оплаты заявитель организует выполнение всех работ на своей стороне – прокладку кабеля, монтаж вводного щита, установку счётчика. Монтаж должен выполнять электромонтажник с группой допуска не ниже III.
7. Проверка и подключение: после завершения работ подаётся уведомление в сетевую организацию. Представитель компании проводит осмотр, оформляет акт о готовности и подключает объект к трёхфазной сети.
Выбор кабеля и автоматики для трёхфазного ввода в дом

Для трёхфазного ввода в частный дом оптимально использовать медный кабель марки ВВГнг(А)-LS или NYM. Минимальное сечение – 5×6 мм² при нагрузке до 25 кВт и длине до 30 метров. При большей длине или мощности требуется увеличение сечения до 10 мм². Алюминиевые кабели (например, АВВГ) допустимы, но требуют пересчёта сечения по падению напряжения и учёта повышенного переходного сопротивления в соединениях.
Кабель должен быть проложен в защитной трубе или кабель-канале, при подземной прокладке – в гофре ПНД диаметром не менее 40 мм на глубине от 0,7 м. В точке ввода обязателен гермоввод и коммутационная коробка с клеммами соответствующего сечения.
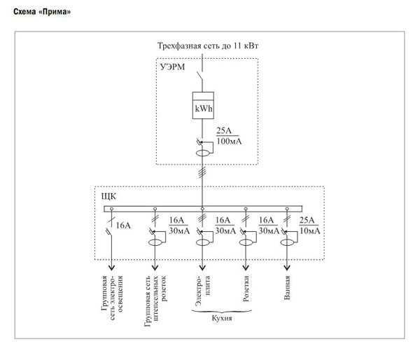
Вводной автомат выбирается по максимальной мощности: при 15 кВт – автомат на 25 А (тип C), при 25 кВт – 40 А. Если планируется пуск мощного оборудования с высокими пусковыми токами (например, компрессоры, насосы), предпочтителен автомат типа D. УЗО устанавливается после автомата, номинал – не ниже 100 мА, ток – на ступень выше автомата. Устройство должно быть четырёхполюсным, рабочее напряжение – 400 В.
Распределительный щит оснащается четырёхполюсным автоматом или модульной сборкой из трёх однополюсных автоматов с механической связкой. Все автоматы и УЗО должны иметь сертификаты соответствия, рабочую температуру – от -25 °C, степень защиты – не ниже IP44 при установке вне помещения.
Для точного подбора оборудования необходимо учитывать совокупную нагрузку, расстояние до точки подключения и условия эксплуатации. Ошибки в выборе сечения или номиналов ведут к перегреву, ложным срабатываниям и угрозе пожара.
Требования к щиту при переходе на трёхфазную систему

Обязательно наличие трёхфазной шины PE (земля) и N (нейтраль) с достаточным числом клемм под отдельное подключение всех отходящих линий. Шины должны быть установлены на диэлектрических основаниях и закреплены механически.
Для распределения фаз необходимо предусмотреть чёткое разделение по группам: мощные потребители (например, электроплита, бойлер, станки) подключаются к разным фазам. Розеточные и осветительные линии также равномерно распределяются, чтобы избежать перекоса фаз.
Все УЗО и дифференциальные автоматы должны быть либо трёхфазными, либо однофазными, в зависимости от конфигурации нагрузки. Для каждой фазы требуется индивидуальное защитное устройство, если линия однофазная.
Ширина щита подбирается с запасом не менее 30% свободного пространства для удобства модернизации. Наличие DIN-реек, маркировки проводов и схемы внутри щита обязательно.
При проектировании щита важно учитывать возможность ввода резервного питания или установки АВР. Для этого предусматривается отдельная группа с контактором или автоматом ввода резерва.
Корпус щита должен иметь степень защиты не ниже IP31 для установки внутри дома и IP54 – при наружной установке. Наличие замка и антивандального исполнения желательно.
Подключение бытовой и силовой нагрузки к трём фазам: схемы и примеры

Для равномерного распределения нагрузки по трём фазам рекомендуется разделять бытовые и силовые потребители, учитывая их мощность и характер работы. Бытовые приборы, как правило, подключаются по однофазной схеме к каждой из фаз с общим нейтральным проводом, что снижает перегрузки и позволяет контролировать нагрузку по каждой линии.
Силовые нагрузки, такие как электроплиты, кондиционеры, насосы, подключают по трёхфазной схеме с нулевым проводом (4-х проводная сеть). Это обеспечивает равномерное распределение тока и минимизирует перекос фаз. Важно использовать автоматические выключатели соответствующего номинала на каждую фазу, а также предусмотреть дифференциальные автоматы для защиты от токов утечки.
Пример схемы для дома с тремя фазами: фазные линии L1, L2, L3 идут к щитку, откуда распределяются на отдельные группы потребителей. Однофазные нагрузки разбиваются по фазам с максимальной мощностью не более 4-5 кВт на каждую, силовые приборы подключаются напрямую к трёхфазной линии с отдельным автоматом 16-32 А в зависимости от мощности.
Для бытовой нагрузки важно обеспечить равномерное распределение: например, L1 – освещение и розетки гостиной, L2 – кухня и техника, L3 – спальня и отопление. Силовые устройства (электроплита, бойлер) подключаются через трёхфазные автоматы. В случае использования стабилизаторов или ИБП – подключение осуществляется к той фазе, которая испытывает наименьшую нагрузку, для стабильной работы.
Рекомендуется применять схемы с нулевым и защитным проводом (PE и N), при этом все приборы заземляются через общий контур заземления. Для контроля балансировки фаз устанавливают фазометры или систему мониторинга, позволяющую оперативно выявлять перекос и предотвращать перегрев кабелей.
Как правильно распределить нагрузку по фазам в частном доме

Распределение нагрузки между тремя фазами должно основываться на точном учёте мощности и специфике работы электроприборов. Для каждого контура определите суммарную мощность в киловаттах (кВт) или амперах (А) с учётом коэффициента одновременности. Нагрузки следует группировать так, чтобы на каждую фазу приходилась примерно равная суммарная мощность, не превышающая максимальные параметры проводки и автоматов защиты.
Первую фазу разумно выделить под наиболее энергоёмкие приборы с постоянным режимом работы: электрокотёл, тепловой насос или система отопления. Вторую – для бытовой техники с переменной нагрузкой: стиральная машина, холодильник, посудомоечная машина. Третью фазу – для освещения, розеток и маломощных устройств.
Важно учитывать пусковые токи электродвигателей и компрессоров: они могут в 3-5 раз превышать рабочие. Поэтому распределение таких нагрузок по разным фазам предотвратит локальные перегрузки. Для точного контроля подключите измерительные приборы на каждой фазе и сравните фактические данные с расчетными, корректируя схему.
Проводите балансировку регулярно, особенно при подключении новых приборов. Не допускайте превышения 80% номинала автоматов защиты на каждой фазе для сохранения запаса по безопасности и стабильности.
Резюме: равномерное распределение с учетом мощности, типа и режима работы приборов, контроль пусковых токов и регулярная проверка баланса обеспечивают надежность и эффективность трёхфазного электроснабжения.
Особенности учета электроэнергии и выбор трёхфазного счётчика

- Технические параметры счётчика должны соответствовать максимальной суммарной нагрузке дома. Обычно выбирают прибор с номинальным током от 60 до 100 А, в зависимости от установленного оборудования и прогнозируемого потребления.
- Обязательно учитывайте класс точности. Для бытовых нужд оптимален класс 1 или 2, что обеспечивает погрешность не более 1–2%.
- Выбирайте счётчик с поддержкой прямого подключения при токах до 100 А. Если нагрузка выше, требуется трансформатор тока, что усложняет монтаж и повышает стоимость.
- Наличие функции многотарифного учёта позволит экономить за счет использования ночных и пиковых тарифов, если ваш поставщик электроэнергии предлагает такую систему.
- Модели с цифровым дисплеем и возможностью дистанционного считывания показаний облегчают контроль потребления и упрощают взаимодействие с энергоснабжающей компанией.
- Обязательна сертификация и соответствие счётчика требованиям ГОСТ Р 52320-2005 или аналогичных нормативов.
Перед установкой необходимо согласовать тип и модель счётчика с энергоснабжающей организацией, так как допускаются только приборы из утвержденного перечня. Правильный выбор и монтаж трёхфазного счётчика обеспечивают точный учет, защиту от перегрузок и оптимизацию расходов на электроэнергию.
Вопрос-ответ:
Зачем переходить на трехфазное электроснабжение в частном доме?
Трехфазное питание позволяет подключать более мощные приборы и распределять нагрузку равномерно между фазами. Это уменьшает риск перегрузок и отключений, особенно если в доме используются электрокотлы, тепловые насосы или электрические плиты. Кроме того, трехфазная сеть дает возможность сэкономить на кабелях и электрооборудовании при большой мощности.
Какие технические изменения необходимо провести для перехода на трехфазное питание?
В первую очередь нужно вызвать электрика для замены вводного щита и установки трехфазного счетчика. Также потребуется прокладка трехфазного кабеля от опоры или трансформаторной подстанции до дома. Внутри дома необходимо перераспределить электропроводку по фазам и установить соответствующее оборудование — автоматические выключатели и УЗО, рассчитанные на трехфазную систему.
Можно ли использовать существующую электропроводку при переходе на трехфазное электроснабжение?
Часто старая проводка не подходит для работы с повышенной мощностью и трехфазным током. Нужно проверить сечение кабелей и состояние изоляции. В некоторых случаях достаточно заменить лишь вводной кабель и щит, а внутри дома оставить старую проводку для отдельных бытовых приборов. Но если планируется установка мощного оборудования, лучше провести полную модернизацию проводки для безопасности.
Какие преимущества дает трехфазное электроснабжение по сравнению с однофазным в плане экономии?
Трехфазное питание позволяет использовать более компактные и доступные электродвигатели и оборудование, что снижает их стоимость и потребление энергии. При большом потреблении электроэнергии снижается нагрузка на каждую фазу, уменьшается нагрев кабелей и электрощита, что увеличивает срок службы устройств и снижает затраты на обслуживание. Кроме того, три фазы обеспечивают стабильное напряжение, что уменьшает риск поломок техники.
Нужно ли получать разрешение или согласование с электроснабжающей организацией перед переходом на трехфазное питание?
Да, для подключения трехфазного электроснабжения требуется согласование с энергоснабжающей компанией. Нужно подать заявку, предоставить технические документы и получить разрешение на увеличение мощности. Компания может потребовать провести технический осмотр, проверить возможности сетей и согласовать сроки подключения. Несоблюдение этих правил может привести к штрафам или отключению электроэнергии.
