
Вводное распределительное устройство (ВРУ) и автоматический ввод резерва (АВР) – два ключевых компонента систем электроснабжения, выполняющие разные задачи и устанавливаемые в разных участках энергосети. Непонимание их функций приводит к ошибкам при проектировании и эксплуатации электроустановок.
ВРУ служит точкой входа электроэнергии в здание. Оно включает в себя вводной автомат, приборы учёта, распределительные автоматы и устройства защиты. Основная задача – приём, учёт и распределение электроэнергии по внутренним потребителям. Типичное ВРУ комплектуется на токи до 630 А, устанавливается в нежилых помещениях и монтируется по требованиям ПУЭ с обязательным наличием заземления.
АВР предназначен для автоматического переключения на резервный источник питания при отключении основного. Используется на объектах, где прерывание электропитания недопустимо – в серверных, на промышленных узлах, в системах противопожарной безопасности. Реализация АВР требует обязательного согласования логики работы с проектом автоматики и анализа времени переключения, которое должно укладываться в технологические допуски потребителей (обычно 0,5–3 секунды).
Выбор между установкой только ВРУ или комплекта из ВРУ и АВР зависит от критичности нагрузки и архитектуры энергоснабжения. При наличии двух независимых источников (например, две секции ТП) без АВР система не сможет обеспечить непрерывность питания. В то же время в жилых домах с единственным вводом установка АВР нецелесообразна – вместо этого резервирование осуществляется за счёт ИБП или дизель-генератора.
Что включает в себя конструкция ВРУ и для чего она используется

Вводно-распределительное устройство (ВРУ) служит для приёма, учета и распределения электроэнергии внутри здания или объекта. Оно также выполняет функции защиты линий от перегрузок и коротких замыканий. Конструкция ВРУ формируется в зависимости от числа вводов, схемы питания и категорийности электроприемников.
Основные элементы ВРУ: вводной автоматический выключатель, устройства защиты от перенапряжения, приборы учета, распределительные автоматы, шинные соединения, а также клеммы для подключения отходящих линий. Часто в состав ВРУ входят контакторы или реле для реализации простых автоматических переключений между источниками.
ВРУ используется в административных зданиях, жилых домах, промышленных и общественных объектах. Оно объединяет все ответственные участки электросети в одной точке, обеспечивая контроль и управление нагрузкой. При проектировании важно учитывать селективность срабатывания защитных устройств, допустимые токи короткого замыкания и возможность оперативного отключения аварийных участков.
ВРУ устанавливают в электрощитовых помещениях с обеспечением свободного доступа для обслуживающего персонала. При выборе оборудования необходимо учитывать номинальное напряжение, ток, тип исполнения (навесное или напольное), степень защиты оболочки (не ниже IP31 для помещений) и соответствие ГОСТ Р 51321.1-2007.
Какие функции выполняет АВР в цепях электроснабжения
Автоматический ввод резерва (АВР) обеспечивает переключение нагрузки на резервный источник питания при отказе основного. Это снижает вероятность полного обесточивания и минимизирует простой оборудования.
Основные функции АВР:
- Мониторинг состояния питающих вводов – напряжения, частоты, порядка чередования фаз, асимметрии.
- Оценка параметров в реальном времени с последующей логикой переключения на резерв при недопустимом отклонении.
- Автоматическое возвращение к основному вводу при восстановлении параметров в допустимых пределах.
- Синхронизация вводов при необходимости параллельной работы или плавного переключения (в случае генераторов).
- Передача сигналов о сработке, неисправностях, текущем состоянии линий в систему диспетчеризации.
В зависимости от конфигурации, АВР может работать с двумя или более источниками питания (двусторонний или трёхсторонний ввод), использовать контакторы или автоматические выключатели с моторным приводом, обеспечивать межблочные задержки и электрическую или механическую блокировку.
Для критически важного оборудования рекомендуется применять схемы с независимыми контроллерами АВР и резервированным питанием цепей управления. Также важно предусматривать защиту от ложного срабатывания из-за кратковременных просадок напряжения.
При проектировании АВР необходимо учитывать селективность и время переключения: для ответственных потребителей оно не должно превышать 0,5–1 секунды. Использование контроллеров с программируемой логикой позволяет гибко настраивать алгоритмы в зависимости от особенностей объекта.
Как определить, нужен ли объекту только ВРУ или также АВР

Если объект подключён к единственной питающей линии и остановка электроснабжения не влечёт серьёзных последствий, достаточно установки ВРУ. В таких случаях потери от отключения минимальны, и восстановление питания может производиться вручную без автоматизации.
Наличие требований к бесперебойной подаче электроэнергии – основной критерий для применения АВР. Это актуально для объектов с постоянной нагрузкой: серверные, насосные станции, больницы, системы безопасности, холодильные установки. В этих случаях АВР обеспечивает автоматическое переключение на резервный ввод при потере основного питания.
Если проектная нагрузка превышает 50 кВт и объект имеет возможность подключения к двум независимым источникам, целесообразно закладывать АВР уже на этапе проектирования. То же касается случаев, когда перерыв в электроснабжении может повлечь за собой убытки, связанные с остановкой технологического процесса, повреждением оборудования или риском для жизни и здоровья.
Для многоквартирных домов с лифтами, системой дымоудаления и пожаротушения АВР обязателен по нормативам. В этом случае он обеспечивает питание от резервного ввода для обеспечения работы систем безопасности.
Наличие дизель-генераторной установки или второго трансформатора также требует интеграции АВР для автоматического переключения между источниками. Без этого резервный источник не сможет включиться без участия обслуживающего персонала.
Таким образом, если при отключении основного питания последствия ограничиваются неудобством, достаточно ВРУ. Если же речь идёт о сбоях в работе критически важных систем, простое ВРУ не обеспечит необходимой надёжности – требуется внедрение АВР.
Чем отличается принцип работы ВРУ от логики работы АВР

Вводно-распределительное устройство (ВРУ) обеспечивает прием, учет и распределение электроэнергии внутри объекта. Его принцип работы основан на последовательной передаче напряжения от внешней линии к потребителям через автоматические выключатели, УЗО и другие элементы защиты. ВРУ не анализирует отказ питания – оно лишь пропускает энергию по заданным контурам при наличии напряжения на вводе.
Автоматический ввод резерва (АВР) функционирует по иной логике. Его задача – отслеживать параметры основной линии (напряжение, частоту, фазировку) и при обнаружении отклонений или полного исчезновения питания выполнять автоматическое переключение на резервный источник. В отличие от ВРУ, АВР задействует релейную логику или контроллеры, которые непрерывно анализируют состояние сети и формируют управляющие сигналы для коммутационного оборудования (контакторов, автоматов с мотор-приводом или АВР-устройств).
Ключевое отличие – в степени автоматизации и задачах. ВРУ – это статичная система распределения, работающая при наличии внешнего напряжения. АВР – динамический механизм, реагирующий на отклонения в сети и осуществляющий переключение без участия человека. При проектировании важно учитывать, что ВРУ обеспечивает базовую инфраструктуру, а АВР требует настройки логики с учетом временных задержек, приоритетов источников и условий возврата на основной ввод.
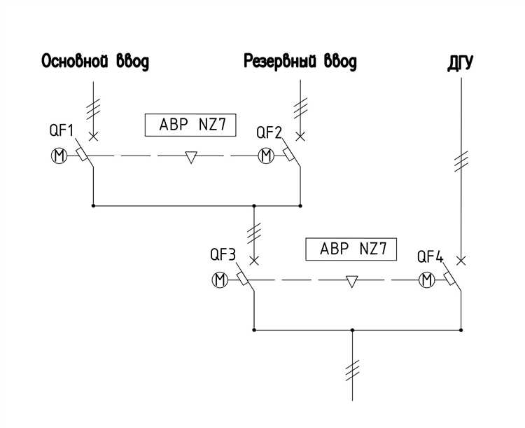
Варианты установки АВР: внутри ВРУ или как отдельный щит
Размещение автоматического ввода резерва (АВР) внутри вводно-распределительного устройства (ВРУ) позволяет сократить габариты распределительной системы и упростить коммутацию. Такое решение целесообразно при ограниченном пространстве и минимальном количестве вводов – чаще всего до двух. При этом важно учитывать тепловые режимы: установка АВР внутри ВРУ увеличивает тепловую нагрузку, особенно при токах выше 400 А, что требует расчёта теплоотвода и вентиляции.
Отдельный щит АВР оправдан в случаях с тремя и более вводами, сложной логикой переключения или необходимости пространственного разделения вводных линий. Выносной щит облегчает доступ к автоматике, упрощает модернизацию, позволяет использовать промышленный контроллер с расширенными функциями. Такое исполнение удобно при построении распределённых систем с несколькими источниками питания, включая ДГУ или ИБП.
При выборе конфигурации важно учитывать требуемую селективность, длину соединительных шин и возможность интеграции с АСУТП. Внутренний монтаж дешевле, но ограничен по масштабируемости. Отдельный шкаф требует больше места, но обеспечивает лучшую эксплуатационную гибкость.
Какие параметры учитывать при выборе готового ВРУ с АВР

При подборе готового ВРУ с АВР важно учесть технические характеристики, напрямую влияющие на надежность и безопасность электроснабжения.
- Номинальный ток и мощность – максимальная нагрузка, которую ВРУ должен выдерживать, рассчитывается с учетом пиковых значений. Обычно выбирают ВРУ с запасом 20–30% от расчетного тока.
- Тип и количество входных линий – АВР рассчитан на переключение между двумя или более источниками. Нужно учитывать, сколько вводов будет подключено, и их особенности (например, основная сеть и дизель-генератор).
- Время переключения – скорость срабатывания АВР должна соответствовать требованиям к непрерывности питания оборудования. Для критичных систем время переключения не должно превышать 0,1–0,3 секунды.
- Тип автоматического выключателя – предпочтительнее использовать выключатели с электронным расцепителем, позволяющим точнее настраивать ток срабатывания и выдержку времени.
- Уровень защиты корпуса – зависит от условий эксплуатации (например, IP54 для помещений с повышенной пылью или влажностью, IP65 для уличных установок).
- Функционал АВР – наличие дополнительных функций, таких как задержка возврата на основной ввод, контроль фаз, сигнализация и дистанционное управление.
- Совместимость с используемыми типами нагрузок – для индуктивных или емкостных нагрузок выбирается ВРУ с АВР, рассчитанным на соответствующий пусковой ток и характеристики.
- Климатические условия эксплуатации – температурный диапазон и влажность, на которые рассчитано оборудование, должны соответствовать фактическим условиям.
- Сертификация и соответствие нормативам – проверка наличия сертификатов соответствия ГОСТ, ТУ и других стандартов обязательна для безопасности и законности эксплуатации.
В итоге выбор готового ВРУ с АВР сводится к точному сопоставлению технических характеристик оборудования с конкретными требованиями объекта и нагрузок, что исключает неоправданные расходы и повышает надежность электроснабжения.
Особенности наладки и обслуживания ВРУ и АВР на объекте
Наладка ВРУ (вводно-распределительных устройств) и АВР (автоматических вводов резерва) требует точного соблюдения технических требований и последовательности операций. Ошибки на этапе пусконаладки могут привести к некорректной работе или выходу оборудования из строя.
- Проверка схем и документации: перед началом наладки тщательно сверяют электрические схемы с фактической разводкой, проверяют соответствие маркировки оборудования проектным данным.
- Тестирование коммутационных аппаратов: проверяют срабатывание выключателей, контакторов и реле, контролируют параметры срабатывания защит, время переключения, отсутствие дребезга контактов.
- Настройка АВР: программируют временные задержки и последовательность включения резервного питания, проводят тестовые переключения под нагрузкой и без нагрузки для выявления ошибок.
- Испытания изоляции: обязательны перед вводом в эксплуатацию – измеряют сопротивление изоляции кабелей, шин и оборудования, исключая возможность коротких замыканий и утечек тока.
Обслуживание требует регулярного контроля и профилактических мер для поддержания надежности и безопасности.
- Осмотр визуальный и функциональный не реже раза в 6 месяцев: проверка состояния контактов, отсутствие коррозии и загрязнений, фиксация теплового режима.
- Измерение сопротивления цепей и сопротивления изоляции – раз в год, с использованием специализированных приборов.
- Проверка работоспособности АВР с имитацией аварийных ситуаций, контроль своевременного переключения на резерв и возврата на основной ввод.
- Обновление программного обеспечения контроллеров и устройств АВР согласно рекомендациям производителей.
- Документирование всех проведенных работ с фиксацией выявленных дефектов и принятых мер для последующего анализа.
Особое внимание уделяется соблюдению мер безопасности при работе с электрооборудованием, включая отключение питания, применение средств индивидуальной защиты и использование корректных инструментов.
Типичные ошибки при проектировании схем с ВРУ и АВР
Частая ошибка – неправильный выбор мощности выключателей в ВРУ, что приводит к срабатыванию защит при пусковых токах. Для предотвращения нужно учитывать токи короткого замыкания и пусковые характеристики подключаемого оборудования.
Неправильное распределение цепей автоматического ввода резерва ведет к неравномерной нагрузке и возможному перегрузу резервного источника. Рекомендуется проектировать АВР с учетом баланса фаз и ограничения максимальной мощности потребителей на резерве.
Отсутствие учёта времени переключения АВР вызывает нарушение технологических процессов и повреждение оборудования. Для защиты критичных систем следует применять устройства с регулируемым временем переключения и контроль состояния источников питания.
Игнорирование необходимости синхронизации генератора с сетью приводит к высоким пусковым токам и механическим повреждениям. В системах с дизель-генераторами требуется установка синхронизирующих устройств и аварийных блокировок.
Ошибка в выборе типа АВР (двухпозиционного или трехпозиционного) снижает надежность и увеличивает износ коммутационных аппаратов. Выбор должен базироваться на требуемой непрерывности питания и особенностях нагрузки.
Неправильное проектирование цепей управления, в том числе отсутствие обратной связи о состоянии входов, увеличивает время восстановления питания и затрудняет диагностику. Использование микропроцессорных контроллеров с телеметрией улучшает контроль и сокращает простои.
Отсутствие резервирования элементов ВРУ и АВР снижает общую надежность системы. Важно предусматривать дублирование ключевых компонентов и возможность быстрого переключения в аварийном режиме.
Вопрос-ответ:
В чём основные функциональные различия между ВРУ и АВР в системе электроснабжения?
ВРУ (вводно-распределительное устройство) предназначено для приёма и распределения электрической энергии внутри объекта, обеспечивая защиту и управление потребителями. АВР (автоматический ввод резерва) отвечает за автоматическое переключение питания с основного источника на резервный при сбое или пропадании напряжения, обеспечивая непрерывность электроснабжения. Таким образом, ВРУ концентрируется на распределении и защите, а АВР — на поддержании подачи электричества в аварийных ситуациях.
Почему установка АВР важна в зданиях с критически важным оборудованием?
В объектах, где любые перебои питания могут привести к серьёзным последствиям, например, в медицинских учреждениях или дата-центрах, АВР гарантирует автоматическое переключение на резервный источник без участия человека. Это позволяет сохранить работу оборудования и избежать потерь данных или сбоев в процессах. Без АВР потребуется ручное вмешательство, что может привести к задержкам и нежелательным последствиям.
Можно ли считать ВРУ и АВР взаимозаменяемыми устройствами?
Нет, эти устройства выполняют разные задачи. ВРУ — это основное распределительное звено, обеспечивающее подачу и распределение электроэнергии, защиту линий и учёт потребления. АВР — вспомогательный элемент, переключающий питание между источниками при необходимости. Их сочетание обеспечивает комплексное и надёжное электроснабжение, а не заменяет друг друга.
Какие типы резервных источников обычно подключают к АВР?
Чаще всего в качестве резервных источников используют дизель-генераторы или альтернативные линии электропередачи. АВР автоматически переключает нагрузку на такой источник, когда основной питающий канал выходит из строя. Также иногда резервом служат аккумуляторные системы или источники бесперебойного питания, но в их случае задачи АВР могут отличаться по специфике.
Какие риски возникают при отсутствии АВР в системе с резервными источниками?
Если в системе есть резервный источник, но отсутствует АВР, переключение питания при сбое будет происходить вручную. Это ведёт к задержкам, возможным простоем оборудования и риску повреждения техники из-за непредсказуемых перепадов напряжения. Кроме того, без автоматизации нельзя гарантировать оперативность восстановления питания в критических ситуациях, что снижает общую надёжность электроснабжения.
В чем принципиальное отличие ВРУ и АВР по их функциям в системе электроснабжения?
ВРУ — это вводно-распределительное устройство, которое служит для приема электроэнергии от внешних источников и распределения ее внутри здания или объекта. Основная задача ВРУ — обеспечить защиту и учет электроэнергии, а также надежное подключение к питающей сети. АВР, или автоматический ввод резерва, предназначен для автоматической смены источника питания при отключении основного. То есть АВР обеспечивает бесперебойность работы, автоматически переключая нагрузку с основного источника на резервный, если возникает сбой или отключение. Таким образом, ВРУ отвечает за распределение и контроль питания, а АВР — за переключение между источниками, поддерживая непрерывность электроснабжения.
Можно ли использовать ВРУ и АВР как взаимозаменяемые устройства в небольших электроустановках?
Хотя оба устройства связаны с управлением электроснабжением, они не являются взаимозаменяемыми. ВРУ выполняет функции распределения и защиты электросети, а также обеспечивает подключение потребителей к одному или нескольким источникам питания. АВР же — специализированное устройство, которое позволяет автоматически переключать питание на резервный источник без участия человека, когда основной источник пропадает. В небольших установках иногда можно встретить упрощенные варианты этих устройств, но задача АВР — гарантировать бесперебойность, чего не обеспечивает ВРУ. Если нужно обеспечить переход на резерв без простоев, АВР обязателен, а ВРУ просто не справится с этой функцией самостоятельно.
