
Фильтры тонкой очистки удаляют частицы размером от 1 до 5 микрон, включая пыльцу, плесень, мелкодисперсные загрязнители и микрочастицы ржавчины. Их установка необходима в системах водоснабжения, где требуется защита оборудования и санитарное качество воды. Типовая область применения – перед точками водоразбора, котлами, бойлерами, системами обратного осмоса.
В конструкции фильтра используется синтетический или металлический картридж, через который вода проходит под давлением. Материал фильтрующего элемента подбирается в зависимости от задач: полипропилен – для улавливания механических примесей, карбон-блок – для устранения хлора и органики. Средний ресурс картриджа – от 3 до 6 месяцев, при повышенной мутности воды – меньше.
Основной принцип работы – послойная фильтрация. Вода движется снаружи внутрь фильтрующего элемента. Более крупные частицы задерживаются на внешних слоях, более мелкие – на внутренних. Это повышает эффективность и снижает нагрузку на фильтрующий материал. При падении давления на выходе ниже нормы рекомендуется заменить картридж, чтобы избежать ухудшения качества очистки.
Важно подбирать фильтр с учетом дебита системы. Недостаточная производительность приведет к падению давления и сбоям в работе оборудования. Для квартиры с двумя точками водоразбора подойдет фильтр с пропускной способностью не менее 20 л/мин. Установка фильтра должна предусматривать байпас или отсечной кран для быстрой замены элемента.
Назначение фильтра тонкой очистки в системе водоснабжения
Фильтр тонкой очистки предназначен для удаления из воды частиц размером от 1 до 100 микрон, включая песок, ил, ржавчину, органические включения и остатки продуктов коррозии. Такие загрязнения не улавливаются фильтрами грубой очистки и могут накапливаться в трубопроводах, снижая пропускную способность системы.
Использование фильтра тонкой очистки предотвращает абразивный износ сантехнической арматуры, бойлеров, насосов и бытовых приборов, таких как стиральные и посудомоечные машины. Это существенно продлевает срок их службы и снижает частоту технического обслуживания.
Фильтр особенно необходим в системах водоснабжения, подключённых к центральным сетям с изношенными трубопроводами, где часто присутствуют коллоидные частицы и отслоения внутреннего покрытия. Также установка рекомендуется в частных домах с колодезной или скважинной водой, не прошедшей предварительную фильтрацию.
Рекомендуется устанавливать фильтр после редуктора давления и до узлов водоразбора. Это позволяет защитить наиболее уязвимые элементы системы от микрозагрязнений, особенно в условиях нестабильного качества водопроводной воды.
Какие загрязнения удаляет фильтр тонкой очистки

Фильтр тонкой очистки эффективно удаляет частицы размером от 1 до 5 микрон. Это позволяет устранить из потока жидкости или воздуха микроскопические фрагменты, недоступные для грубой и предварительной фильтрации.
Механические частицы: остатки ржавчины, мелкая пыль, частицы песка, износ металлов в системах трубопроводов и оборудования. Их удаление предотвращает абразивный износ компонентов и засорение клапанов, форсунок и теплообменников.
Биоаэрозоли и микроорганизмы: бактерии, споры плесени и простейшие. Использование фильтров с антибактериальной пропиткой или из высококачественных материалов снижает риск микробиологического загрязнения в пищевой, фармацевтической и медицинской промышленности.
Капельные и плёночные загрязнения: эмульсии, мелкодисперсные масляные или водяные капли. Удаление таких включений важно в пневмосистемах и при подготовке сжатого воздуха для промышленного применения.
Растворённые соли и химические соединения: хотя фильтр тонкой очистки не предназначен для полной деминерализации, он способен частично задерживать нерастворимые осадки и соединения с низкой растворимостью, особенно при использовании сорбционных материалов.
Аэрозольные примеси: остаточные пары масел, топлива, смазочных веществ. При подборе фильтров с коалесцирующим эффектом достигается высокий уровень очистки воздуха и газа в компрессорных и вакуумных установках.
Оптимальный результат достигается при выборе фильтра с учетом конкретной среды и характера загрязнений. Для жидкостей – многослойные картриджи из полипропилена или стекловолокна, для воздуха – волоконные или мембранные фильтроэлементы высокой плотности.
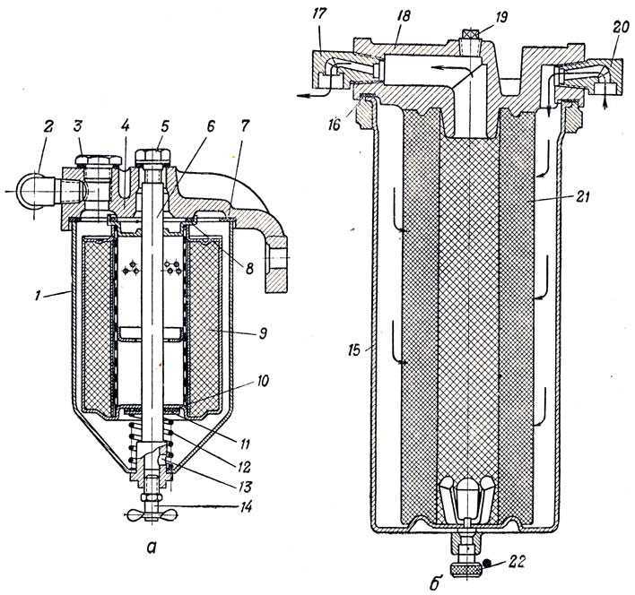
Конструкция фильтра и материалы фильтрующего элемента

Фильтр тонкой очистки состоит из корпуса, герметизирующих элементов, системы подачи и отвода жидкости, а также фильтрующего элемента, который определяет степень очистки. Корпус изготавливается из нержавеющей стали, алюминия или полимеров с высокой химической стойкостью. Конструкция должна выдерживать рабочее давление до 10–25 бар и температурные нагрузки до 150 °C в зависимости от сферы применения.
Фильтрующий элемент размещается внутри корпуса и фиксируется с помощью прижимных узлов для предотвращения байпасов. Важнейшим критерием является площадь фильтрации: чем она больше, тем выше эффективность и ресурс.
- Мембранные элементы производятся из политетрафторэтилена (PTFE), полиэфирсульфона (PES) или нейлона. Обеспечивают фильтрацию до 0,1 мкм, подходят для стерильной и ультратонкой очистки.
- Синтетические волокна из полипропилена используются для глубокой фильтрации. Имеют градиентную структуру, позволяющую задерживать частицы на разных уровнях по толщине.
- Металлические сетки из нержавеющей стали применяются при необходимости регенерации фильтра. Размер ячеек варьируется от 5 до 50 мкм.
При выборе материала учитываются тип фильтруемой среды, кислотно-щелочной баланс, наличие агрессивных компонентов и допустимые потери давления. Для пищевых и фармацевтических применений обязательна сертификация материалов по стандартам FDA или EU 10/2011.
Как происходит процесс фильтрации внутри устройства

Фильтр тонкой очистки состоит из корпуса, входного и выходного патрубков, а также основного фильтрующего элемента – картриджа, изготовленного из синтетического волокна, активированного угля или полипропилена. Конструкция обеспечивает прохождение потока жидкости только через фильтрующую среду, исключая байпас или обвод.
На первом этапе загрязнённая жидкость поступает через входной патрубок и равномерно распределяется по внешней поверхности фильтрующего элемента. Принцип действия основан на постепенной задержке примесей по мере продвижения внутрь фильтра. Картридж выполняет не только поверхностную, но и глубинную фильтрацию, улавливая частицы размером от 5 до 0.1 мкм в зависимости от типа и плотности материала.
Механические загрязнители – песок, ржавчина, окалина – оседают на внешних слоях, тогда как растворённые примеси и органические соединения поглощаются внутренними структурами, в том числе за счёт эффекта сорбции, если используется активированный уголь.
Скорость фильтрации определяется площадью поверхности картриджа, давлением в системе и вязкостью жидкости. Важно поддерживать номинальное давление, рекомендованное производителем, обычно в диапазоне 2–6 бар. При понижении давления на выходе – более чем на 1 бар по сравнению с входом – требуется замена фильтрующего элемента.
Фильтрующий элемент работает до полного насыщения, после чего его сопротивление потоку резко возрастает, и эффективность очистки падает. Поэтому установка манометров до и после фильтра позволяет контролировать рабочее состояние системы и планировать техническое обслуживание без нарушения режима эксплуатации.
Порядок установки фильтра в бытовую водопроводную сеть

Перед монтажом фильтра необходимо перекрыть центральный ввод воды в дом. Убедитесь в наличии байпаса, если он предусмотрен схемой. Важно предусмотреть доступ к фильтру для обслуживания – минимальное расстояние от стены должно составлять не менее 15 см.
Отметьте участок трубы для врезки, отступив не менее 30 см от водомера или крана. Снимите давление, открутив ближайший кран. Выполните обрезку трубы с использованием трубореза. На концах труб удалите заусенцы и тщательно зачистите внутренние кромки.
Установите фильтр в соответствии с направлением потока, указанным стрелкой на корпусе. При использовании резьбовых соединений применяйте сантехническую нить или ленту ФУМ, избегая перегрузки резьбы. При пайке не допускайте перегрева корпуса фильтра, применяйте латунные переходники.
После фиксации фильтра аккуратно затяните все соединения гаечным ключом, избегая избыточного усилия. Подключите фильтр к системе и откройте подачу воды. Проверьте герметичность соединений и при необходимости подтяните фитинги. После проверки установите защитный кожух, если он предусмотрен конструкцией.
Признаки засорения и регламент промывки фильтра
Основным индикатором засорения фильтра тонкой очистки служит снижение пропускной способности, что выражается в падении давления на выходе или уменьшении скорости потока. Для контроля рекомендуется использовать манометры, установленные до и после фильтрующего элемента: разница давления свыше 0,2–0,3 МПа сигнализирует о необходимости очистки.
Другой важный признак – появление посторонних примесей или мутности жидкости после фильтра, особенно при визуальном контроле прозрачных сред. В системах с автоматическим мониторингом – срабатывание датчиков загрязнения.
Регламент промывки зависит от характеристик рабочей среды и режима эксплуатации. Для стандартных условий рекомендуется проводить промывку каждые 300–500 часов работы или после накопления объема пропущенной жидкости, установленного технической документацией производителя.
При работе с агрессивными или сильно загрязненными средами интервал промывки сокращается до 100–200 часов. Важно избегать превышения предельного перепада давления, чтобы предотвратить повреждение фильтрующего элемента и снижение эффективности очистки.
Промывка выполняется струёй обратного потока с использованием чистой жидкости или с применением специальных моющих средств при наличии органических загрязнений. После очистки необходимо провести повторный замер перепада давления и визуальный контроль состояния фильтра.
Вопрос-ответ:
Для чего используется фильтр тонкой очистки в системе водоснабжения?
Фильтр тонкой очистки предназначен для удаления мельчайших механических примесей и взвесей из воды. Это помогает защитить оборудование и сантехнические приборы от засорения и преждевременного износа, а также улучшает качество воды для бытового или производственного использования.
Как устроен фильтр тонкой очистки и из каких основных элементов он состоит?
В основе конструкции фильтра тонкой очистки лежит корпус с сетчатым или пористым фильтрующим элементом. Обычно фильтр включает входной и выходной патрубки, сменный фильтрующий модуль, а также механизм для его очистки или замены. Материал фильтрующего элемента подбирается с учетом требуемого уровня очистки и типа загрязнений.
Каков принцип работы фильтра тонкой очистки и как он задерживает загрязнения?
Вода проходит через тонкопористый фильтрующий материал, который задерживает частицы грязи, ржавчины и другие мелкие включения. Размер пор в фильтре подобран так, чтобы пропускать воду, но задерживать частицы, превышающие заданный размер. Загрязнения накапливаются на поверхности или внутри фильтра, что требует периодической очистки или замены элемента.
Как часто нужно обслуживать или менять фильтр тонкой очистки?
Интервал обслуживания зависит от качества исходной воды и объёма её потребления. В местах с большим количеством механических примесей фильтр нужно чистить или менять чаще — иногда каждые несколько недель. При нормальных условиях эксплуатации — один-два раза в год. Регулярное обслуживание позволяет избежать снижения пропускной способности и повреждения системы.
Можно ли использовать фильтр тонкой очистки для удаления химических примесей из воды?
Фильтр тонкой очистки предназначен только для задержания механических частиц, таких как песок, ржавчина и другие твердые включения. Для удаления химических веществ, растворённых в воде, применяют другие виды очистки, например, активированный уголь, обратный осмос или ионный обмен. Поэтому фильтр тонкой очистки не справится с устранением химических загрязнителей.
Как устроен фильтр тонкой очистки и какие процессы обеспечивают его работу?
Фильтр тонкой очистки состоит из нескольких слоёв материалов, каждый из которых задерживает частицы разного размера. В основе работы лежит механический принцип: загрязнения оседают на фильтрующей поверхности, а чистая жидкость или воздух проходят дальше. Некоторые фильтры дополнительно используют адсорбционные свойства материалов для улавливания мельчайших частиц и органических соединений.
В каких случаях необходимо применять фильтр тонкой очистки, и как он влияет на качество воды или воздуха?
Фильтр тонкой очистки применяют тогда, когда требуется удалить мелкие частицы, которые не задерживаются грубыми фильтрами. Это может быть важно, например, для бытовой питьевой воды, чтобы убрать взвешенные вещества и улучшить вкус, или для систем вентиляции, чтобы снизить количество пыли и аллергенов в воздухе. Использование такого фильтра способствует снижению нагрузки на последующие этапы очистки и продлевает срок службы оборудования.
