
Обратный клапан в канализации предотвращает поступление сточных вод в обратном направлении. Он играет критическую роль в защите помещений от затопления при перегрузках в наружной канализационной сети. Особенно актуально его применение в подвальных и цокольных этажах, где уровень сантехнических приборов ниже уличной канализации.
Клапан срабатывает при превышении давления снаружи: мембрана или заслонка перекрывает поток, не позволяя канализационным массам вернуться в систему. Это устройство эффективно при проливных дождях, засорах, авариях на внешних участках трубопровода. Устанавливается он, как правило, на горизонтальном участке трубы сразу после выхода из помещения или до подключения к стояку.
Для бытовых нужд применяются модели с диаметром от 50 до 110 мм, подходящие для стандартных пластиковых труб. При выборе обратного клапана учитывают не только диаметр, но и направление потока, наличие ревизионной крышки, способ крепления. Рекомендуется установка в канализации частных домов, квартир первого этажа, технических помещений, а также в системах с насосным оборудованием.
Эффективность работы обратного клапана напрямую зависит от правильности монтажа. Ось клапана должна быть ориентирована строго по направлению потока, чтобы исключить самопроизвольное закрытие. Рекомендуется регулярная проверка состояния внутренних механизмов – скопление жира, волос или твердых частиц может привести к блокировке створки.
Когда необходимо устанавливать обратный клапан на канализацию

Установка обратного клапана необходима в системах канализации, подверженных риску обратного тока сточных вод. Наиболее критичные ситуации возникают в нижних этажах многоквартирных домов, где сантехнические приборы находятся ниже уровня наружной канализации или коллектора. При засорах или переполнении системы существует риск поступления стоков в обратном направлении, что приводит к затоплению помещений фекальными массами.
Обратный клапан обязателен, если здание подключено к централизованной канализации с периодическими перегрузками, например, в старом жилом фонде с устаревшими трубопроводами. Также его установка необходима при наличии автономной канализации с насосной станцией, где после отключения питания может произойти возврат воды из напорного трубопровода.
Дополнительным показанием к установке служит наличие в доме подвальных санузлов, прачечных или других приборов, подключённых ниже уровня уличной канализации. В таких случаях устройство предотвращает гидравлический удар и поступление сточных масс внутрь системы при резком скачке давления.
Клапан рекомендуется устанавливать при реконструкции канализации, особенно если система изначально не предусматривала защиту от обратного потока. Также стоит учесть региональные особенности: в районах с высокой грунтовой водой или регулярными ливнями клапан может защитить от попадания дождевых стоков в здание через канализационную систему.
Как работает обратный клапан и что происходит без него

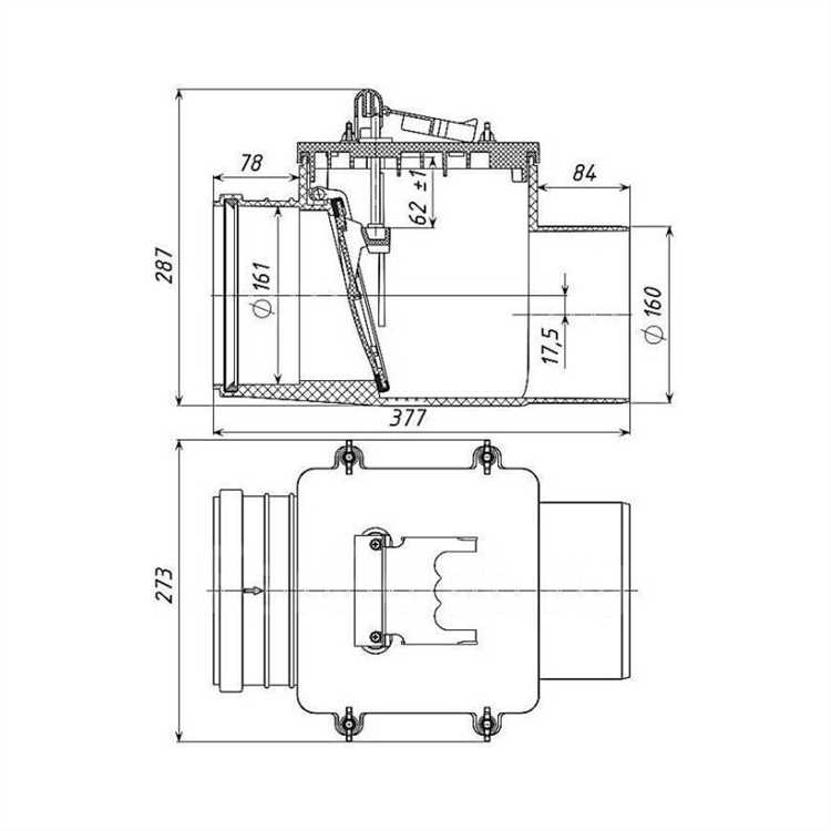
Обратный клапан устанавливается в канализационном трубопроводе и представляет собой механическое устройство, перекрывающее поток жидкости при его движении в обратном направлении. В нормальных условиях клапан остаётся открытым и не препятствует самотечному удалению сточных вод из помещения. При возникновении обратного потока – например, при переполнении канализации или засоре на внешнем участке – клапан автоматически закрывается, блокируя возврат сточных масс в жилое пространство.
Конструкция устройства включает створку, пружину или поплавок, которые активируются под действием давления воды. В зависимости от модели створка может быть вертикальной, горизонтальной или наклонной. Герметичность обеспечивается за счёт плотного прилегания элементов и резиновых уплотнителей. Клапан реагирует на обратное давление в течение долей секунды, исключая протекание даже при резком скачке.
Отсутствие обратного клапана на канализации критично в зданиях, подключённых к общей системе без индивидуальной защиты от затопления. В таких случаях при засоре на нижнем участке сточные воды из других квартир или домов могут начать поступать обратно. Это приводит к затоплению санузлов, проникновению фекальных масс, разрушению отделки и росту бактериальной нагрузки в помещении.
Без клапана риск обратного тока возрастает в период интенсивных осадков, особенно при подключении к перегруженной городской системе. Также он критичен для объектов с цокольными этажами, где уровень сантехники находится ниже уровня уличного коллектора.
Установка клапана снижает вероятность аварийной ситуации, повышает гигиеническую безопасность и позволяет избежать затрат на ремонт и дезинфекцию после затоплений. При выборе модели важно учитывать диаметр трубы, тип подключения и материал корпуса (например, полипропилен или чугун для наружных участков).
Типы обратных клапанов для бытовой канализации

Обратные клапаны для канализационных систем классифицируются по конструкции, принципу действия и месту установки. Выбор зависит от особенностей канализации, типа сточных вод и вероятности гидравлических ударов или затоплений.
- Клапаны с поворотным затвором. Оснащены створкой, которая открывается под напором воды и автоматически закрывается при обратном потоке. Подходят для горизонтальных участков канализации, особенно в системах с нечастыми сбросами сточных вод.
- Шаровые обратные клапаны. Внутри корпуса размещён шар, перекрывающий просвет при обратном движении воды. Эффективны при установке в частных домах с фекальными насосами, где возможны кратковременные обратные импульсы.
- Мембранные (гибкие) клапаны. Используют эластичную мембрану, которая деформируется под давлением потока. Рекомендуются для систем с малыми объёмами сточных вод, например, при подключении стиральной машины или умывальника.
- Клапаны с ручной блокировкой. Оснащены дополнительным рычагом или заслонкой, позволяющей вручную перекрыть поток. Актуальны для помещений с высоким риском затопления – подвалов, цокольных этажей, гаражей.
- Двойные клапаны. Состоят из двух последовательно расположенных механизмов – автоматического и ручного. Обеспечивают повышенную защиту и устанавливаются в критически важных точках, таких как отводы к уличной канализации.
При выборе клапана важно учитывать диаметр трубы, уровень заглубления канализации, наличие жиров и твёрдых включений в сточных водах. Для горизонтальных участков подойдут модели с малым гидравлическим сопротивлением. Вертикальные стояки требуют конструкций с жёсткой фиксацией створки или шара.
Места установки обратного клапана в частных и многоквартирных домах

В частных домах обратный клапан целесообразно устанавливать на выходе внутренней канализации перед подключением к наружному трубопроводу. Это позволяет защитить дом от обратного тока сточных вод при засорах или переполнении наружной сети, особенно если участок расположен в низине или вблизи ливневых коллекторов.
Если дом оснащён подвальным этажом или цокольным уровнем, обратный клапан монтируется непосредственно на стояке, обслуживающем санитарные приборы, установленные ниже уровня обратного подпора. В этом случае рекомендуется использовать модели с ручной блокировкой, позволяющей перекрывать канал вручную при угрозе затопления.
В многоквартирных домах установка обратного клапана необходима в нижних квартирах, расположенных на первом этаже или в полуподвальном уровне. Оптимальное место – горизонтальный участок внутренней канализации после последней санитарной точки и до ввода в общий стояк. Это устраняет риск попадания фекальных масс из стояка при его засоре.
Для защиты целых стояков в многоэтажках клапан можно устанавливать на отводе перед соединением с главным выпуском. При реконструкции старых зданий клапан встраивается в ревизионные участки либо в камеру перед наружным коллектором. Важно учитывать диаметр и направление потока, чтобы избежать гидравлических сопротивлений и нарушений отвода стоков.
Не допускается установка обратного клапана в местах с постоянным слабым напором воды, например, перед сифонами моек или унитазов, так как это может вызвать застои и неприятный запах. Установка всегда должна сопровождаться точным расчётом расположения и выбором типа клапана в зависимости от этажности, конфигурации трубопровода и уровня риска обратного тока.
Частые причины срабатывания обратного клапана

Засоры в общей канализации – ещё один распространённый фактор. При закупорке участка трубы между этажами или на выходе из дома происходит накопление воды и отходов, вызывающее обратное давление. В таких случаях клапан закрывается, чтобы исключить попадание нечистот в помещение.
Неправильно спроектированная система канализации, особенно с недостаточным уклоном труб или отсутствием вентиляционного стояка, может вызывать гидравлические удары и перепады давления. Это также становится причиной периодического срабатывания клапана даже при умеренной нагрузке.
Ливневые дожди и паводки оказывают влияние на наружные канализационные сети. При недостаточной пропускной способности наружных труб происходит затопление колодцев, и сточные воды начинают двигаться в обратном направлении. Клапан защищает внутреннюю сеть дома от затопления.
Также клапан может сработать при нарушении норм эксплуатации – сбросе в канализацию большого количества твердых или нерастворимых отходов. Это приводит к локальным засорам, повышающим давление в участке трубы до срабатывания клапана.
Для минимизации ложных срабатываний рекомендуется регулярная прочистка системы, контроль за составом сточных вод и периодическая проверка работоспособности самого клапана.
Обслуживание и проверка работоспособности обратного клапана

Регулярная проверка обратного клапана необходима для предотвращения засоров и возврата сточных вод. Проверять состояние клапана рекомендуется минимум раз в полгода, особенно в системах с интенсивной эксплуатацией или при повышенной вероятности гидроударов.
Для проверки откройте доступ к клапану, отключив подачу воды и снизив давление в системе. Осмотрите внутренний механизм на предмет загрязнений, коррозии и механических повреждений. Особое внимание уделите положению заслонки или мембраны – она должна свободно закрываться и открываться без заеданий.
Если клапан снабжен съемной крышкой, снимите ее и промойте внутренние элементы чистой водой. Использование растворителей или агрессивных чистящих средств не рекомендуется, так как они могут повредить уплотнители и материалы корпуса.
Для диагностики работоспособности можно провести тест обратного потока: после установки клапана включите подачу воды и наблюдайте за герметичностью. При обнаружении протечек замените уплотнительные элементы или весь клапан.
Обслуживание включает также проверку крепления клапана к трубопроводу и состояние резьбовых соединений. Ослабленные крепления могут привести к вибрациям и преждевременному износу.
В случае засора необходимо аккуратно удалить посторонние предметы, которые могут блокировать движение заслонки. Использование металлических инструментов допускается с осторожностью, чтобы не повредить внутреннюю поверхность.
При правильном уходе и своевременной диагностике обратный клапан обеспечивает надежную защиту канализационной системы от обратного хода сточных вод, снижая риск аварий и повышая срок службы всей системы.
Вопрос-ответ:
Для чего устанавливают обратный клапан в бытовой канализационной системе?
Обратный клапан предотвращает обратный ток сточных вод из канализации обратно в дом. Это защищает помещения от затопления и появления неприятных запахов, особенно в случаях переполнения или аварий в городской сети. Клапан обеспечивает одностороннее движение жидкости, позволяя воде уходить из дома, но не возвращаться обратно.
Какие проблемы могут возникнуть при отсутствии обратного клапана в системе канализации?
Без обратного клапана сточные воды при переполнении или повышенном давлении в канализации могут возвращаться в дом через сливные отверстия. Это приводит к подтоплению санузлов, повреждению отделки и мебели, а также распространению неприятных запахов и повышенному риску санитарных проблем из-за контакта с загрязнённой водой.
В каких местах дома целесообразно устанавливать обратный клапан для канализации?
Чаще всего обратный клапан монтируют на вводе канализационной трубы в дом, перед стояком или у септика, если он есть. Также клапан устанавливают на ответвлениях, где есть риск обратного потока, например, возле стиральных или посудомоечных машин. Выбор места зависит от конструкции системы и особенностей эксплуатации.
Как проверить исправность обратного клапана и избежать его поломки?
Для проверки нужно убедиться, что клапан свободно открывается и закрывается без заеданий. Это можно сделать, пропуская через него воду или используя специальные инструменты. Регулярно очищайте клапан от грязи и отложений, чтобы не нарушался его механизм. Если заметны протечки или постоянное прохождение воды в обратном направлении, клапан необходимо заменить.
