
Высота подъема насоса – это ключевой параметр, определяющий способность насосного оборудования преодолевать сопротивление системы и доставлять жидкость на определённую высоту. Этот показатель измеряется в метрах водяного столба (мВС) и не зависит от плотности перекачиваемой среды. Он отражает не только геометрическую высоту подъема, но и все потери давления по пути – в трубопроводах, соединениях, фитингах и арматуре.
Например, если насос должен поднять воду из скважины глубиной 10 метров и подать её в дом, расположенный выше точки забора на 5 метров, а также преодолеть гидравлические потери в системе длиной 30 метров, суммарная высота подъема составит около 20–25 мВС с учетом потерь. Недооценка этого параметра приведет к недостаточному давлению или полной неработоспособности системы.
При подборе насоса следует учитывать не только необходимую высоту подъема, но и рабочий расход – объём перекачиваемой жидкости в единицу времени. Эти два параметра связаны между собой: при увеличении расхода реальная высота подъема уменьшается. Поэтому важно анализировать график напорной характеристики конкретной модели, а не ориентироваться только на максимальные значения, указанные производителем.
Для систем водоснабжения частного дома, как правило, требуется насос с высотой подъема от 20 до 50 мВС. Для систем полива или технического водоотвода – другие параметры. Всегда следует делать расчет с запасом не менее 10–15% и учитывать реальную схему прокладки трубопроводов, число изгибов и высотные перепады.
Как определить высоту подъема по техническому паспорту насоса
Высота подъема указывается в техническом паспорте насоса в разделе «Основные характеристики» или «Параметры работы». Искомое значение обозначается как «максимальный напор», «напор» или «Hmax» и измеряется в метрах водяного столба (м). Это параметр показывает, на какую вертикальную высоту насос способен поднимать жидкость при нулевом расходе.
Если паспорт содержит график «напор–подача» (характеристическая кривая), необходимо найти точку пересечения рабочего расхода с кривой. Ордината этой точки и будет рабочей высотой подъема. Она всегда ниже максимального напора, так как учитывает сопротивление системы и реальные условия эксплуатации.
При выборе насоса важно учитывать не только Hmax, но и эффективную высоту подъема, соответствующую требуемому расходу. Если паспорт содержит несколько рабочих точек, ориентируйтесь на значения, где насос работает с наилучшей эффективностью (обозначается как «Qopt» или «ηmax»).
Некоторые производители указывают Hmin – минимальный напор, при котором насос сохраняет стабильную работу. Для систем с переменной нагрузкой важно выбирать модель с широким диапазоном напоров в паспорте.
Итоговая рабочая высота подъема должна учитывать не только паспортные данные, но и реальные условия: высоту подачи, длину трубопровода, количество поворотов и арматуру, создающую дополнительное сопротивление.
Чем отличается высота подъема от напора
Напор – это общее давление, создаваемое насосом, включающее высоту подъема и все потери напора на трение, переходы, фитинги и арматуру. Он измеряется в метрах водяного столба и определяется по формуле: H = Hвп + Hгп + Hпт, где Hвп – всасывающая часть, Hгп – геометрическая подача, Hпт – потери на трение.
Для бытовых систем с протяжёнными трубами, изгибами и клапанами, напор может превышать высоту подъема на 30–70%. Например, если высота подъема составляет 5 м, при сопротивлении системы в 4 м насос должен обеспечивать напор не менее 9 м.
Неправильное понимание разницы между этими параметрами приводит к недооценке требуемой мощности оборудования. При подборе насоса всегда учитываются реальные условия эксплуатации и рассчитывается именно полный напор, а не только геометрическая высота.
Как высота подъема влияет на выбор типа насоса
Высота подъема – ключевой параметр, определяющий способность насоса транспортировать жидкость на определенное расстояние по вертикали. При выборе насоса этот показатель напрямую влияет на конструктивный тип оборудования.
Если высота подъема менее 10 метров, применяются поверхностные насосы. Они эффективны при малом сопротивлении трубопровода и коротком расстоянии до точки подачи. Однако при превышении этого значения резко падает производительность и появляется риск кавитации.
Для подъемов от 10 до 40 метров предпочтительны многоступенчатые центробежные насосы. Благодаря последовательному увеличению давления на каждом рабочем колесе они обеспечивают стабильный поток при значительной высоте. Используются в системах водоснабжения многоэтажных зданий и промышленных объектах.
При необходимости подачи жидкости на высоту более 40 метров следует выбирать насосы с осевым или винтовым принципом действия. Такие устройства обеспечивают высокое давление при относительно низком расходе, что важно, например, в противопожарных системах или горнодобывающих установках.
- Высота подъема до 8 м – поверхностные насосы с эжекторами
- 10–40 м – многоступенчатые центробежные
- Свыше 40 м – вертикальные или погружные насосы высокого давления
Неверный выбор типа насоса при несоответствующей высоте подъема приводит к перегрузке двигателя, снижению ресурса и неэффективной работе системы. Поэтому перед покупкой необходимо точно рассчитать требуемую высоту с учетом потерь на трение, повороты труб и перепады уровней.
Можно ли увеличить высоту подъема без замены насоса
Высота подъема насоса определяется конструктивными параметрами, включая диаметр рабочего колеса и частоту вращения. Увеличение высоты подъема без замены насоса возможно, но ограничено.
Для повышения высоты подъема можно увеличить скорость вращения вала насоса. Однако это требует проверки допускаемой частоты вращения, чтобы избежать преждевременного износа или разрушения деталей.
Другой способ – оптимизация гидравлической системы: снижение сопротивления в трубопроводах, установка более гладких или больших по диаметру труб, устранение лишних изгибов и сужений. Это снижает потерю давления и эффективно увеличивает полезную высоту подъема.
Повышение высоты подъема можно частично достичь изменением угла или формы лопаток рабочего колеса, но такие работы требуют квалифицированного балансирования и возможного ремонта корпуса.
Использование частотных преобразователей для регулировки скорости позволяет адаптировать высоту подъема под текущие условия без механической замены насоса.
Резюмируя, значительное увеличение высоты подъема без замены насоса достигается в основном за счет улучшения условий эксплуатации и регулировки частоты вращения, но конструктивные ограничения не позволяют существенно превысить паспортные характеристики.
Почему фактическая высота подъема отличается от расчетной
Расчетная высота подъема насоса основывается на идеальных условиях, которые редко совпадают с реальными. Основная причина расхождения – потери давления в системе, вызванные трением жидкости в трубах, фитингах и клапанах. Даже при гладких трубах коэффициент трения увеличивается с ростом длины и скорости потока.
Наличие в системе воздушных пузырьков или частиц грязи дополнительно снижает эффективную высоту подъема, создавая турбулентность и локальные перепады давления. Коррозия и отложения на внутренних поверхностях труб уменьшают диаметр сечения, что увеличивает сопротивление потоку и снижает напор.
Температурные изменения влияют на вязкость перекачиваемой жидкости, что напрямую отражается на гидравлических потерях. Например, при повышении температуры воды на 20 °C её вязкость падает примерно на 25%, что уменьшает сопротивление и может увеличить фактическую высоту подъема по сравнению с расчетной.
Погрешности измерений давления и уровня, а также износ рабочих колес насоса приводят к снижению производительности и изменению напора. Рекомендуется регулярно проверять состояние уплотнений и рабочих элементов, а также контролировать параметры жидкости для точного соответствия расчетным условиям.
Для корректировки расчетов необходимо учитывать коэффициенты местных потерь в фитингах (обычно от 0,1 до 1,5), а также фактическое состояние трубопровода. Использование гидравлических расчетов с учетом реальных данных позволяет минимизировать расхождения между расчетной и фактической высотой подъема.
Как рассчитать высоту подъема для системы водоснабжения частного дома
При расчёте учитывайте высоту подъема вместе с дополнительными потерями давления, вызванными трением в трубах и фитингах. Добавьте к вертикальному расстоянию 10–15% на эти потери, если система имеет более 20 метров трубопровода и несколько поворотов.
Для насосов глубинного типа высота подъема складывается из глубины погружения насоса и подъема до потребителя. Например, при глубине скважины 15 м и подъеме воды на 5 м высота подъема составит 20 м, к которой следует добавить потери давления.
Для бытовых насосов обычно достаточно высоты подъема до 30 метров. Если расчетная высота превышает этот показатель, выбирайте насосы с соответствующими техническими характеристиками или рассмотрите установку дополнительного оборудования, например гидроаккумулятора.
При выборе насоса ориентируйтесь на паспортные данные, где указана максимальная высота подъема и производительность. Высота подъема должна превышать расчетное значение минимум на 1–2 метра для компенсации непредвиденных потерь.
Итог: измерьте реальное вертикальное расстояние, прибавьте 10–15% на потери, проверьте соответствие параметров насоса. Такой подход обеспечит стабильную подачу воды и сохранит ресурс оборудования.
Как влияет диаметр труб на высоту подъема
Диаметр труб напрямую влияет на потери давления в системе и, следовательно, на эффективную высоту подъема насоса. Чем меньше диаметр трубы, тем выше сопротивление потоку жидкости из-за увеличения скорости движения и трения о стенки трубы.
Основные факторы влияния диаметра труб:
- Сопротивление трения пропорционально длине трубы и обратно пропорционально пятой степени диаметра (в ламинарном режиме), что существенно увеличивает потери при уменьшении диаметра.
- Снижение диаметра повышает скорость потока, что увеличивает турбулентность и дополнительные потери давления.
Рекомендации по выбору диаметра для максимальной высоты подъема:
- Использовать трубы с диаметром, обеспечивающим скорость потока не выше 1,5–2 м/с, чтобы минимизировать гидравлические потери.
- При длинных участках трубопровода выбирать больший диаметр для снижения потерь и увеличения реальной высоты подъема.
- Учитывать возможность увеличения диаметра при проектировании насосной системы для повышения эффективности и снижения энергозатрат.
Незначительное уменьшение диаметра трубы (например, с 50 мм до 40 мм) может привести к потере высоты подъема насоса до 10–15% из-за роста сопротивления. Наоборот, увеличение диаметра снижает скорость и потери, что позволяет насосу достигать большей высоты подачи.
Что происходит с насосом при превышении расчетной высоты подъема

При превышении расчетной высоты подъема насос сталкивается с недостатком напора, что приводит к снижению производительности и перегрузке агрегата. Насос начинает работать в условиях кавитации – внутри корпуса образуются пузырьки пара, вызывающие эрозию рабочих элементов и сокращение срока службы.
Из-за повышения нагрузки на электродвигатель увеличивается потребляемый ток, что повышает риск перегрева и выхода из строя обмоток. Валы и подшипники подвергаются чрезмерным вибрациям и нагрузкам, что ускоряет их износ и может привести к поломке.
При постоянной эксплуатации выше расчетной высоты подъема возрастает вероятность возникновения гидравлических ударов, вызывающих повреждение соединений и уплотнений. Это приводит к утечкам и снижению герметичности системы.
Для предотвращения негативных последствий рекомендуется строго соблюдать технические параметры насоса, использовать устройства контроля давления и потока, а также при необходимости подбирать насос с запасом по высоте подъема или устанавливать дополнительные ступени.
Вопрос-ответ:
Что такое высота подъема насоса и почему этот параметр важен?
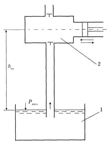
Высота подъема насоса — это максимальное вертикальное расстояние, на которое насос может поднять жидкость без внешней помощи. Этот параметр показывает, насколько насос способен преодолевать силу тяжести и сопротивление в системе трубопроводов. Он нужен для правильного выбора оборудования, чтобы обеспечить требуемый напор и стабильную работу всей системы.
Каким образом измеряется высота подъема насоса?
Измерение высоты подъема обычно происходит путем определения разницы уровней между поверхностью жидкости в исходном резервуаре и точкой выпуска жидкости после насоса. При этом учитываются потери давления, возникающие из-за трения в трубах и фитингах. Полученное значение показывает максимальную высоту, на которую насос может подавать жидкость.
Как высота подъема насоса влияет на выбор оборудования для системы водоснабжения?
Если высота подъема слишком мала, насос не сможет обеспечить необходимое давление для подачи воды на нужную высоту, что приведет к снижению производительности. Если параметр завышен, то насос может работать с избыточной мощностью, что приводит к увеличению расхода электроэнергии и износу деталей. Поэтому важно подбирать насос с высотой подъема, соответствующей реальным требованиям системы.
Какие факторы могут снижать фактическую высоту подъема насоса по сравнению с паспортными данными?
Фактическая высота подъема может оказаться ниже из-за различных причин: засорение фильтров, износ рабочего колеса, неправильная установка, увеличение сопротивления в трубах из-за коррозии или отложений, а также неправильный режим работы насоса. Все это приводит к снижению давления и уменьшению поднимаемой высоты жидкости.
Можно ли увеличить высоту подъема насоса без замены оборудования?
В некоторых случаях повысить высоту подъема можно, улучшив условия работы насоса. Например, уменьшив сопротивление трубопровода, очистив фильтры и трубки, а также обеспечив правильную установку и регулировку насоса. Иногда помогает установка дополнительного ступенчатого насоса или повышение давления в системе. Однако для значительного увеличения может потребоваться замена или модернизация оборудования.
Что означает высота подъема насоса и почему этот параметр важен?
Высота подъема насоса — это максимальная вертикальная высота, на которую насос способен поднять жидкость, преодолевая силу тяжести и сопротивление трубопровода. Этот параметр показывает, насколько высоко насос может поднимать воду или другую жидкость от уровня забора до точки выброса. Понимание высоты подъема помогает правильно подобрать насос для конкретных задач, чтобы обеспечить необходимый напор и объем подачи.
