
Ползунковый реостат представляет собой регулируемый резистор с подвижным контактом, перемещающимся по токопроводящей обмотке. Основное его преимущество – возможность плавного изменения сопротивления в пределах заданного диапазона. Это особенно важно при необходимости точной настройки тока или напряжения в цепи, например, в лабораторных установках или при регулировке яркости освещения.
Ступенчатый реостат, в отличие от ползункового, использует набор фиксированных резистивных элементов, подключаемых последовательно или параллельно с помощью переключателя. Такой тип устройства обеспечивает дискретное изменение сопротивления. Он предпочтителен в условиях, где необходима высокая надежность и устойчивость к вибрациям, например, в тяговом оборудовании или старых моделях трансформаторов.
Ключевое различие между этими типами – в характере регулировки: непрерывной у ползункового и дискретной у ступенчатого. При выборе типа реостата необходимо учитывать условия эксплуатации, требуемую точность настройки и допустимый уровень потерь мощности. Ползунковые модели подходят для точной настройки, но требуют ухода за контактной поверхностью. Ступенчатые – более надёжны при постоянной нагрузке, но менее гибки в регулировке.
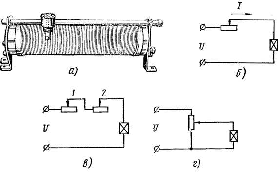
Как устроен ползунковый реостат: конструкция и принцип действия

Ползунковый реостат представляет собой цилиндрический или плоский изолятор, на поверхности которого равномерно намотана проволока из материала с высоким удельным сопротивлением, например, нихрома или константана. Намотка выполняется виток к витку без изоляции между ними, что позволяет обеспечить контакт в любой точке пути ползунка.
Движение ползунка осуществляется вручную по направляющей шине или резьбовому штоку, что обеспечивает точную настройку. Важно контролировать усилие при перемещении: чрезмерное давление может повредить витки или контактную группу. Для устойчивой работы устройство должно быть надёжно закреплено и защищено от пыли и влаги – это критично для сохранения контакта между ползунком и проводником.
Реостаты с ползунком применяются преимущественно в лабораторных установках и обучающих стендах, где требуется плавное изменение параметров. Их преимущество – высокая точность настройки сопротивления в режиме реального времени. Однако при длительной эксплуатации необходима периодическая очистка контактной зоны от окислов и механических загрязнений.
Что представляет собой ступенчатый реостат: особенности конструкции

Основу конструкции составляет керамический или композитный каркас, на который намотана проволока с высоким удельным сопротивлением – чаще всего нихром. Отводы подключаются к контактной панели с переключателем, реализованным в виде поворотного механизма, кнопочного коммутатора или рычажного переключателя. Коммутация происходит ступенчато, благодаря чему обеспечивается устойчивость параметров при длительной работе под нагрузкой.
Ключевая особенность – термическая стойкость. Большие зазоры между витками и массивная опорная база обеспечивают эффективное рассеивание тепла. Отдельные модели оснащаются тепловыми экранами и вентиляционными отверстиями для принудительного охлаждения.
Ступенчатые реостаты применяются преимущественно в цепях, где требуется стабильное ограничение тока: в тяговых установках, электропечах, пусковых устройствах для асинхронных двигателей. Их выбирают, когда нужно избежать самопроизвольного изменения сопротивления из-за вибраций или температуры.
Выбор ступенчатого реостата определяется числом ступеней, максимальной рассеиваемой мощностью и типом переключающего узла. При эксплуатации важно учитывать коммутационную износостойкость и необходимость регулярной очистки контактных групп от окислов.
Сравнение плавности регулировки сопротивления в двух типах реостатов
Плавность регулировки сопротивления – ключевой параметр при выборе реостата для точных электротехнических задач. Ползунковые и ступенчатые реостаты реализуют этот процесс по-разному, что напрямую влияет на точность настройки.
- Ползунковый реостат позволяет изменять сопротивление непрерывно за счёт перемещения контактного ползунка по обмотке. Это обеспечивает высокую степень точности – изменение сопротивления возможно с шагом менее 1% от общего диапазона, в зависимости от плотности витков и качества контакта. Идеален для лабораторных экспериментов и калибровочных установок.
- Ступенчатый реостат использует фиксированные отводы от обмотки, что ограничивает изменение сопротивления дискретными значениями. Количество ступеней обычно варьируется от 5 до 20, а шаг между ними может составлять от 5% до 25% от полного диапазона. Этот тип подходит для грубых регулировок, где точность не критична.
Рекомендуется использовать ползунковый тип в схемах с необходимостью тонкой настройки тока или напряжения. Ступенчатый целесообразен при управлении нагрузкой в бытовых или учебных устройствах, где допустима значительная погрешность.
Условия, при которых предпочтителен ползунковый реостат
Ползунковый реостат оптимален в системах, где требуется плавное и непрерывное регулирование сопротивления без скачков тока. Его конструкция позволяет точно подбирать значение сопротивления за счёт перемещения контакта по сплошной проволочной обмотке, что критически важно в лабораторных установках, демонстрационных приборах и учебных стендах.
Предпочтение отдают ползунковому варианту при токах до 5–10 А и напряжении до 300 В, особенно если оборудование эксплуатируется в ручном режиме с частыми изменениями параметров. Его удобно использовать в цепях постоянного тока, где важна высокая чувствительность к изменению сопротивления – например, в схемах питания измерительных устройств, балансировке мостов или настройке генераторов сигналов.
Также ползунковый реостат целесообразен в ситуациях, когда необходимо визуально контролировать положение подвижного контакта. Это облегчает настройку и повышает точность регулировки. В отличие от ступенчатого, ползунковый тип не ограничен фиксированными значениями сопротивления, что важно при калибровке и тестировании нестандартных нагрузок.
Использование ползункового реостата оправдано в условиях низкой вибрации и отсутствия пыли, поскольку открытая конструкция уязвима к загрязнению и механическим колебаниям. В автоматизированных или промышленно тяжёлых условиях такой тип устройства неэффективен из-за износа движущихся контактов.
Ситуации, где разумнее использовать ступенчатый реостат
Точные режимы нагрузки в системах электропривода. В установках, где требуется чёткое фиксирование уровней тока, например в лифтовых или крановых установках, ступенчатый реостат обеспечивает устойчивое поведение системы без риска нестабильной регулировки, характерной для ползунковых моделей.
Эксплуатация в условиях вибраций или тряски. В транспорте или на производственных платформах с подвижным основанием ступенчатые реостаты исключают самопроизвольное смещение контакта, гарантируя сохранение выбранного режима.
Образовательные и лабораторные стенды. При обучении важно продемонстрировать чёткие уровни сопротивления. Ступенчатый тип позволяет студентам воспроизводить экспериментальные условия без отклонений, что критично для точности измерений и повторяемости.
Длительная фиксация сопротивления под нагрузкой. В устройствах, где реостат используется не как элемент регулировки, а как постоянная нагрузка, например в тестировании трансформаторов или источников питания, ступенчатый механизм обеспечивает надёжный контакт при постоянном токе.
Работа в сетях с высокой нагрузкой. При больших токах контактная поверхность ползунка быстро изнашивается. Ступенчатый механизм, использующий массивные контакты с большей площадью соприкосновения, показывает лучшую стойкость к нагреву и искрению.
Износ и долговечность контактных элементов обоих типов
Контактные элементы ползункового и ступенчатого реостатов существенно различаются по конструкции и условиям эксплуатации, что влияет на их износ и ресурс.
- Ползунковый реостат: контакт осуществляется скользящим элементом по сплошной резистивной дорожке. Износ вызывается трением, искрением при нагрузках и окислением поверхности контакта.
- Средний ресурс рабочих контактов ползункового реостата ограничен примерно 10 000–20 000 циклов переключения при стандартных условиях.
- Для уменьшения износа рекомендуется использовать материалы с низким коэффициентом трения (например, серебро или его сплавы), а также обеспечивать стабильное механическое прижатие контактного ползунка.
- Регулярное техническое обслуживание включает очистку контактной поверхности от оксидов и загрязнений, что значительно продлевает срок службы.
- Износ обусловлен главным образом искровыми процессами при переключении, особенно на высоких токах, а также коррозией контактов.
- Типичный ресурс ступенчатого реостата достигает 50 000 и более переключений, при условии использования специальных контактных материалов (например, серебряных или золотых напылений).
- Для повышения долговечности ступенчатого реостата целесообразно ограничивать ток переключения, применять дугогасительные устройства и обеспечивать надежную защиту от пыли и влаги.
Таким образом, ступенчатые реостаты превосходят ползунковые по ресурсу контактных элементов за счет отсутствия скольжения и снижения механического износа, но требуют контроля искровых процессов. Выбор типа реостата должен учитывать условия эксплуатации и требования к надежности.
Как подключаются и настраиваются ползунковые и ступенчатые реостаты

При монтаже и наладке обоих типов реостатов обязательно учитывайте максимальные номиналы напряжения и тока, указанные в паспорте устройства, чтобы сохранить долговечность и безопасность работы.
Примеры применения в реальных схемах: что выбирают инженеры
Ползунковые реостаты востребованы в низковольтных измерительных приборах и учебных стендах, где требуется плавная и бесступенчатая регулировка. В схемах управления освещением и звуковыми системами они позволяют добиться точной настройки без скачков, что важно для комфортного пользовательского опыта.
При выборе между этими типами учитывают также тепловую нагрузку: ползунковые устройства ограничены по мощности из-за износа контактов, тогда как ступенчатые реостаты с герметичными переключателями выдерживают значительные токи без ухудшения характеристик.
Инженеры рекомендуют ступенчатые реостаты для долговременных решений в промышленных условиях, где критична повторяемость и стабильность параметров. Для прототипирования и динамической настройки с частыми изменениями параметров чаще выбирают ползунковые, так как их конструкция упрощает точную регулировку.
Вопрос-ответ:
Чем принцип регулирования сопротивления у ползункового и ступенчатого реостата отличается?
В ползунковом реостате сопротивление изменяется плавно за счёт перемещения контакта по резистивному элементу, что позволяет получить бесступенчатую регулировку. В ступенчатом варианте переключение происходит между фиксированными участками сопротивления, поэтому изменения происходят с определёнными шагами, а не плавно.
Какие преимущества ступенчатого реостата перед ползунковым в практическом использовании?
Ступенчатый реостат обладает большей надёжностью и простотой конструкции, поскольку переключение происходит между жёстко заданными контактами. Он меньше подвержен износу из-за отсутствия скольжения контакта по резистивной дорожке и может выдерживать более высокие нагрузки. Это делает его предпочтительным для систем, где не требуется плавное регулирование, а важна прочность и долговечность.
В каких случаях целесообразно применять ползунковый реостат вместо ступенчатого?
Ползунковый реостат стоит выбирать, если требуется точная и плавная настройка сопротивления, например, в лабораторных приборах, аудиотехнике или при регулировке силы тока в цепях с чувствительными элементами. Такой реостат позволяет избежать скачков в значениях сопротивления, что важно для точного контроля параметров.
Как различается износ и срок службы у этих двух типов реостатов?
У ползункового реостата износ связан с трением движущегося контакта по резистивной полосе, что приводит к постепенному ухудшению характеристик и появлению загрязнений. Ступенчатый реостат менее подвержен механическому износу, поскольку переключение происходит между жёстко закреплёнными контактами, которые меньше изнашиваются при эксплуатации. Следовательно, ступенчатые устройства обычно служат дольше в условиях интенсивного использования.
Какие конструкции реостатов лучше подходят для применения в высоковольтных цепях?
Для высоковольтных цепей чаще используют ступенчатые реостаты, так как они обеспечивают устойчивость к электрическим пробоям и могут иметь большие зазоры между контактами. Ползунковые модели менее безопасны в таких условиях из-за риска пробоя и искрения в зоне скольжения контакта, что ограничивает их применение в системах с высоким напряжением.
В чём принципиальное отличие между ползунковым и ступенчатым реостатом?
Ползунковый реостат регулирует сопротивление плавно за счёт перемещения контакта по сопротивляющей дорожке, позволяя менять ток без резких скачков. В ступенчатом реостате изменение сопротивления происходит дискретно — переключением между фиксированными значениями сопротивления, что даёт ступенчатую регулировку тока. Такой подход проще и надёжнее, но не обеспечивает плавного изменения параметров.
