
При замене ламп накаливания на светодиодные в старых электросетях часто возникают проблемы: мерцание, самопроизвольное свечение при выключенном выключателе, нестабильная работа при минимальной нагрузке. Основной причиной становится паразитная емкость проводки или неоновые индикаторы в выключателях. Решение – правильное подключение конденсатора.
Светодиодные лампы мощностью 5–15 Вт потребляют ток в пределах 20–70 мА. Даже токи утечки или наводки в сети могут вызвать их срабатывание. Подключение конденсатора номиналом 0,1–0,33 мкФ (напряжение не менее 400 В, тип X2) параллельно лампе или выключателю позволяет эффективно погасить остаточное напряжение и устранить паразитные токи.
Неправильный подбор или установка конденсатора может привести к пробою изоляции, перегреву и выходу лампы из строя. Конденсатор следует подключать только через монтажную коробку с соблюдением полярности (если используется неполярный тип, полярность не имеет значения) и с обязательным соблюдением техники безопасности: отключение питания и проверка отсутствия напряжения тестером.
Рекомендация: использовать пленочные конденсаторы класса X2 производства известных брендов, таких как EPCOS, Kemet или WIMA. Это гарантирует термостойкость, устойчивость к перенапряжениям и долгий срок службы в бытовой сети 220 В.
Зачем подключать конденсатор к светодиодной лампе

Подключение конденсатора к светодиодной лампе 220В необходимо в случаях, когда наблюдаются проблемы с миганием лампы при выключенном выключателе или нестабильной работе при низкой нагрузке. Это особенно актуально в цепях с подсветкой выключателя или при использовании проходных выключателей с индикацией.
Основная причина мигания – наличие паразитного тока, проходящего через неоновую подсветку или индуктивность проводки. Светодиодная лампа с импульсным драйвером накапливает этот заряд, периодически включаясь на короткое время. Конденсатор, установленный параллельно лампе, эффективно шунтирует эти пульсации, предотвращая накопление заряда и исключая ложное срабатывание драйвера.
Рекомендуется использовать пленочные конденсаторы X2-класса с номиналом от 0,1 до 0,47 мкФ и напряжением не менее 275В AC. Они устойчивы к импульсным перенапряжениям и рассчитаны на работу в сетевых условиях. Электролитические или неполярные конденсаторы применять не следует из-за риска выхода из строя и несоответствия условиям эксплуатации.
Подключение конденсатора – эффективное решение для устранения остаточного свечения и повышения электромагнитной совместимости светодиодных ламп в бытовых сетях переменного тока.
Типы конденсаторов, подходящие для сетевого напряжения 220В
Плёночные конденсаторы (MKP) – лучший выбор для подключения к сети 220В. Они устойчивы к импульсным перенапряжениям, имеют малые потери и длительный срок службы. Для работы в сети переменного тока необходимы конденсаторы класса X2 (до 275В~) или X1 (до 440В~). Например, MKP X2 на 0.1–0.47 мкФ подходят для подавления помех и компенсации пусковых токов.
Керамические дисковые конденсаторы класса Y применяются между фазой и землёй, обеспечивая гальваническую развязку и фильтрацию высокочастотных помех. Используются Y1 (до 500В~) и Y2 (до 300В~) с номиналами от 1 нФ до 10 нФ. Недопустимо использовать обычные керамические или SMD-конденсаторы – они не рассчитаны на сетевое напряжение.
Электролитические конденсаторы используются исключительно в схемах с выпрямленным напряжением. Их нельзя подключать напрямую к переменному току 220В. При необходимости сглаживания пульсаций после выпрямителя применяются модели с рабочим напряжением не ниже 400В постоянного тока.
Конденсаторы с самовосстановлением (self-healing) особенно надёжны в сетевых цепях. При пробое диэлектрика восстанавливают изоляцию, предотвращая разрушение. Такие свойства есть у качественных MKP X2.
Важно: всегда выбирать компоненты с сертификатом безопасности (VDE, UL), номинальное напряжение которых превышает рабочее не менее чем на 20%. Несоответствующий конденсатор может выйти из строя с риском возгорания.
Выбор емкости конденсатора для устранения мигания лампы

Мигание светодиодной лампы после выключения питания часто вызвано остаточным напряжением на управляющем элементе выключателя или емкостью на проводке. Для устранения этого эффекта параллельно лампе подключают конденсатор, шунтирующий паразитное напряжение.
Оптимальная емкость зависит от конкретной схемы и характера помех. Для большинства бытовых случаев подходит неполярный пленочный конденсатор на напряжение не менее 275 В AC (желательно X2-класса). Начинать стоит с емкости 0,1 мкФ. Если эффект не исчезает – увеличить до 0,22 мкФ или максимум до 0,47 мкФ. Превышать это значение не рекомендуется из-за увеличения тока утечки и нагрузки на сеть.
Электролитические конденсаторы использовать нельзя – они полярны и не рассчитаны на работу в сетевом напряжении переменного тока. Также не следует использовать керамические с низким классом стабильности – они теряют емкость при нагреве и со временем.
Для точного подбора емкости желательно измерить остаточное напряжение в выключенном состоянии и протестировать влияние каждого значения на поведение лампы. Без приборов действуют поэтапным увеличением емкости, контролируя результат после каждого изменения.
Места установки конденсатора в цепи освещения
1. Параллельно лампе: Наиболее распространённый способ. Конденсатор подключается между фазой и нулём параллельно светодиодной лампе. Используются неполярные плёночные конденсаторы с ёмкостью от 0,1 до 0,47 мкФ, рассчитанные на напряжение не менее 400 В. Такой метод устраняет мигание при выключенном выключателе, вызванное паразитными токами через индикаторную подсветку или слаботочные утечки в выключателях с подсветкой.
2. До выключателя: Установка конденсатора параллельно питающим проводам до выключателя позволяет уменьшить помехи и стабилизировать напряжение в цепи. Эффективно в схемах с несколькими лампами, особенно при длинной проводке. Конденсатор устанавливается в распределительной коробке, желательно как можно ближе к месту ввода кабеля. Используются конденсаторы класса X2, ёмкостью до 0,1 мкФ.
3. После выключателя: При подключении конденсатора параллельно светильнику непосредственно после выключателя (внутри корпуса светильника) устраняется эффект остаточного свечения или мигания. Подходит для случаев, когда отсутствует возможность доступа к распределительной коробке. Не рекомендуется использовать электролитические конденсаторы – только плёночные, с высоким рабочим напряжением.
4. Между проводом заземления и нулём: Допустимо только при согласовании с проектом электроснабжения. Такой способ применим для гашения высокочастотных помех, возникающих от импульсных драйверов ламп. Конденсатор должен быть специально предназначен для фильтрации в цепях переменного тока, с категорией Y2 и номиналом не выше 4700 пФ.
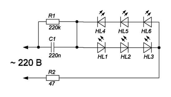
Схема подключения конденсатора параллельно лампе

Для устранения мерцания или остаточного свечения светодиодной лампы при выключателе с подсветкой, конденсатор подключают параллельно лампе. Это позволяет отвести паразитное напряжение, которое вызывает слабое свечение лампы в выключенном состоянии.
- Конденсатор устанавливается между фазным и нулевым проводом в месте подключения лампы.
- Рекомендуемая ёмкость – от 0,1 до 0,47 мкФ, напряжение – не менее 400 В переменного тока.
- Тип – неполярный, плёночный (например, X2-класса, предназначен для работы в сетях 220В).
- Контакты конденсатора подключаются напрямую к клеммам патрона или параллельно входу на лампу.
- Соблюдение полярности не требуется, так как используется неполярный элемент.
Важно не использовать электролитические полярные конденсаторы без диодного выпрямителя, иначе произойдёт перегрев или разрушение элемента. Для безопасной установки отключите питание и проверьте отсутствие напряжения на проводах.
- Отключите автомат в распределительном щитке.
- Снимите плафон и получите доступ к контактам патрона.
- Надёжно зафиксируйте соединения и изолируйте открытые контакты.
- Установите лампу обратно, включите питание и проверьте работу.
После установки конденсатора светодиодная лампа должна полностью гаснуть при выключении, а мерцание – исчезнуть.
Можно ли подключать конденсатор к выключателю с подсветкой
Выключатели с подсветкой содержат встроенный индикатор, который через небольшой ток постоянно пропускает через себя электричество, даже когда выключатель выключен. При подключении конденсатора к такой цепи возможны нежелательные эффекты.
Причина – конденсатор создает дополнительный реактивный ток, который может привести к подсвечиванию светодиодной лампы или ее мерцанию при выключенном состоянии.
Рекомендация: использование конденсатора для подавления мерцания или подавления пульсаций допустимо только при выключателе без подсветки. Если подсветка есть, конденсатор в цепь выключателя подключать нельзя, так как это приведет к постоянному потреблению тока и возможному выходу из строя компонентов подсветки.
Для светодиодных ламп с выключателями с подсветкой рекомендуют применять специализированные драйверы или лампы с встроенной защитой от паразитных токов.
Подводя итог, конденсатор и выключатель с подсветкой в одной цепи – несовместимы, это ухудшает работу лампы и снижает надежность системы освещения.
Безопасность при работе с конденсаторами и сетью 220В
Работа с конденсаторами в цепи 220 В требует строгого соблюдения мер предосторожности из-за высокого риска поражения электрическим током и возможного повреждения оборудования.
Перед началом работ обязательно отключите питание сети на распределительном щите и проверьте отсутствие напряжения с помощью фазометра или мультиметра с соответствующим диапазоном.
Используйте конденсаторы с рабочим напряжением не ниже 400 В переменного тока, чтобы выдерживать пиковые значения сети 220 В. Применение конденсаторов с меньшим номиналом ведёт к перегреву и выходу из строя.
Обращайте внимание на тип конденсатора: для подключения в сеть необходимы только специализированные конденсаторы типа X2 с соответствующей маркировкой, рассчитанные на импульсные перенапряжения и обеспечение безопасности при пробоях.
Рабочие соединения должны выполняться изолированными проводами с надёжными клеммами или пайкой. Открытые контакты должны быть защищены термоусадочной трубкой или корпусом для исключения случайного касания.
Не допускайте работы при повышенной влажности или в условиях, где возможен контакт с водой. В таких случаях используйте защитные кожухи и дополнительное заземление.
При сомнениях в правильности подключения или состоянии компонентов рекомендуется обратиться к квалифицированному электрику. Несоблюдение указанных требований приводит к риску пожара, выходу из строя лампы и опасности для здоровья.
Частые ошибки при установке конденсатора и способы их избежать

Неправильный подбор ёмкости конденсатора приводит к мерцанию или отсутствию свечения лампы. Для светодиодных ламп на 220В обычно используется конденсатор в диапазоне 0,1–0,33 мкФ с рабочим напряжением не ниже 400 В.
Подключение конденсатора в разрыв фазы вместо параллельного включения снижает эффективность компенсации и может вывести устройство из строя.
Ошибки при монтаже:
- Использование конденсаторов без маркировки и с недостаточным рабочим напряжением. Решение – применять только конденсаторы с классом X2 и напряжением ≥400 В.
- Подключение конденсатора к лампе с уже встроенным драйвером с компенсацией. Это может привести к перегреву или короткому замыканию. Перед установкой проверить характеристики лампы.
- Нарушение полярности у неполярных конденсаторов – хотя технически полярность не имеет значения, неправильное подключение электролитического конденсатора вызывает повреждение. Используйте только неполярные типы для сетевых цепей.
- Отсутствие защиты конденсатора от скачков напряжения. Рекомендуется установка предохранителя или варистора в цепь для увеличения срока службы.
- Монтаж с плохим контактом – повышенное сопротивление вызывает нагрев и снижение эффективности. Используйте надёжные клеммы и проверяйте соединения тестером.
Для надёжной работы:
- Выберите конденсатор с запасом по напряжению минимум 20-30% от сетевого.
- Параллельно подключайте конденсатор к нагрузке, избегая последовательных включений.
- Проводите тестирование цепи мультиметром на отсутствие коротких замыканий и проверяйте ёмкость конденсатора перед установкой.
- Используйте термостойкие компоненты и обеспечьте вентиляцию в месте монтажа.
- Обращайтесь к документации производителя лампы и конденсатора для точного выбора параметров.
Вопрос-ответ:
Для чего нужен конденсатор при подключении светодиодной лампы к сети 220 В?
Конденсатор помогает снизить пульсации тока и уменьшить мерцание светодиодной лампы, обеспечивая более стабильное свечение. Кроме того, он может снизить шум и повысить общий срок службы лампы за счёт сглаживания электрических колебаний.
Как правильно выбрать ёмкость конденсатора для подключения к светодиодной лампе на 220 В?
Выбор ёмкости зависит от мощности лампы и характеристик её драйвера. Обычно для бытовых светодиодных ламп выбирают конденсаторы с ёмкостью в диапазоне от 0,1 до 1 микрофарада, рассчитанные на напряжение не ниже 400 В. Лучше ориентироваться на рекомендации производителя или проводить измерения с помощью тестера, чтобы подобрать оптимальный вариант.
Можно ли просто подключить конденсатор параллельно светодиодной лампе без дополнительных элементов?
Простое параллельное подключение конденсатора возможно, но не всегда безопасно и эффективно. В некоторых случаях это может привести к перегреву или повреждению лампы. Рекомендуется учитывать характеристики конденсатора, соблюдать полярность (если конденсатор электролитический) и, при необходимости, использовать дополнительные резисторы или предохранители для защиты цепи.
Какие типы конденсаторов лучше подходят для работы с сетевым напряжением 220 В в светодиодных лампах?
Для подключения к сети 220 В подходят конденсаторы с маркировкой X2 (металлоплёночные конденсаторы класса X2). Они рассчитаны на работу с импульсными перенапряжениями и обеспечивают безопасность при прямом подключении к сети переменного тока. Электролитические конденсаторы использовать не рекомендуется из-за их ограниченного срока службы и риска выхода из строя под такими условиями.
Как подключение конденсатора влияет на энергопотребление и безопасность светодиодной лампы?
Добавление конденсатора может немного уменьшить потери энергии, связанные с пульсациями и гармониками, что делает работу лампы более стабильной и иногда немного экономичнее. Однако важно правильно подобрать и установить конденсатор, чтобы не создавать угрозу короткого замыкания или поражения электрическим током. Соблюдение стандартов безопасности и технических параметров оборудования — обязательное условие при монтаже.
