
Создание лифта в частном доме или мастерской требует точного соблюдения технических норм и правильного подбора компонентов. Важно учитывать грузоподъемность, скорость подъема и тип привода. Для небольшой бытовой установки обычно достаточно электродвигателя мощностью от 0,5 до 1,5 кВт и системы тросов с минимальным запасом прочности в 2–3 раза выше расчетной нагрузки.
Перед началом работы необходимо подготовить чертежи и определить габариты шахты, исходя из размеров кабины и допустимого пространства для монтажа направляющих. Рекомендуется использовать стальные направляющие профильного типа с толщиной стенки не менее 4 мм для обеспечения жесткости конструкции.
Электрическая часть лифта должна включать систему аварийного отключения и тормоз, обеспечивающий мгновенную остановку при обрыве троса или отключении питания. Контроллеры с программируемыми параметрами позволяют гибко настраивать режимы работы и обеспечивают безопасность эксплуатации.
Выбор типа лифта для самостоятельной сборки

1. Электрический тросовый лифт. Подходит для зданий высотой от 3 до 15 этажей. Требует установки мощного электродвигателя с редуктором и системы тросов с противовесом. Необходим точный расчет грузоподъемности и балансировки. Для монтажа потребуется прочная шахта с направляющими. Электропитание должно обеспечивать стабильное напряжение 220-380 В.
2. Гидравлический лифт. Оптимален для небольших высот (до 5 этажей). Использует гидравлический цилиндр, что упрощает конструкцию, но требует установки насосной станции и емкости с маслом.
Подготовка и проверка необходимых материалов и инструментов

Для самостоятельного изготовления лифта потребуется стальной профиль с сечением не менее 40×40 мм для каркаса, тросы из нержавеющей стали диаметром 6 мм, а также электродвигатель мощностью от 1,5 кВт с редуктором. Убедитесь в наличии подшипников шарикового типа с классом точности не ниже P5 для обеспечения плавного вращения.
Проверьте технические характеристики выбранных тросов: допустимая нагрузка должна превышать максимальный вес лифта с грузом минимум на 30%. Для электрооборудования необходимы автоматические выключатели на ток не менее 10 А и реле времени с точностью срабатывания до 0,1 секунды.
Инструменты: сварочный аппарат с возможностью регулировки тока до 160 А, угловая шлифмашина с диском 125 мм для резки металла, набор ключей и отверток с головками до 17 мм, уровень с точностью не хуже 0,5 мм/м, а также мультиметр для проверки электрических цепей.
Перед началом сборки проверьте исправность каждого инструмента, особенно сварочного аппарата и электродвигателя. Измерьте сопротивление обмоток двигателя мультиметром, оно должно соответствовать данным из технической документации. Проверка всех компонентов на отсутствие повреждений позволит избежать аварийных ситуаций во время эксплуатации лифта.
Проектирование и сборка каркаса лифта

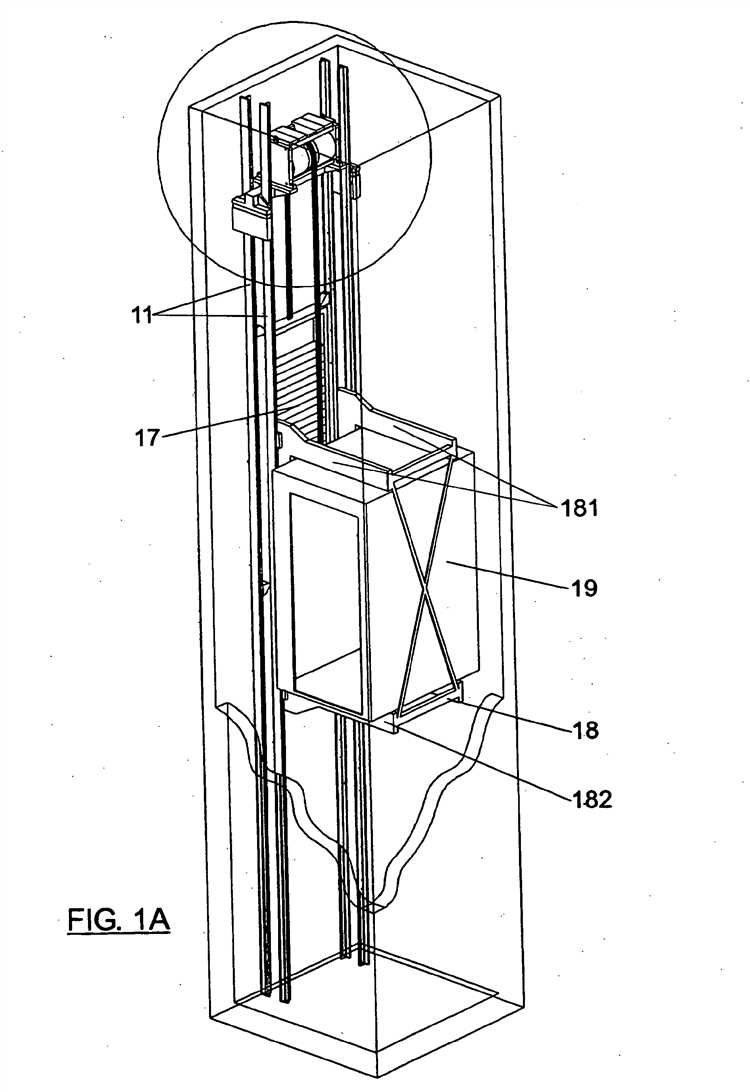
Каркас лифта представляет собой жесткую конструкцию, обеспечивающую поддержку кабины и направляющих. Для изготовления каркаса рекомендуется использовать профильную сталь с толщиной стенки не менее 4 мм. Оптимальный сечение – прямоугольная труба 60×40 мм или квадратная 50×50 мм, что обеспечивает баланс прочности и веса.
При проектировании учитывайте максимальную нагрузку: вес кабины, пассажиров и оборудования. Расчетная нагрузка должна включать запас прочности минимум 25%. Для типичного домашнего лифта на 4-5 человек рекомендуемая грузоподъемность – 400–500 кг.
Основная рама собирается из двух вертикальных стоек и горизонтальных перекладин, закрепляемых сваркой или болтовыми соединениями класса прочности не ниже 8.8. В местах крепления направляющих установите усиленные пластины толщиной 8 мм для равномерного распределения нагрузки.
Вертикальные стойки каркаса должны быть выровнены строго по уровню с допуском не более 2 мм на высоту 2 метра. Для контроля используйте лазерный уровень и строительный отвес. Небольшие отклонения приведут к заклиниванию кабины и ускоренному износу механизмов.
Направляющие монтируются внутри каркаса, с шагом между ними 600–700 мм, чтобы обеспечить стабильность движения кабины. Используйте рельсы из легированной стали с твердостью поверхности не ниже HRC 50. Крепление направляющих выполняется на специальные кронштейны с виброизоляционными прокладками.
После сборки каркаса необходимо выполнить антикоррозионную обработку: зачистку сварочных швов, грунтовку и покраску специализированной эмалью для металла с содержанием цинка. Это предотвратит появление ржавчины и увеличит срок службы конструкции.
Установка подъемного механизма и электропривода

Начинайте монтаж с фиксации направляющих швеллеров или уголков строго вертикально, проверяя ровность уровнем с точностью до 1 мм на каждый метр. Для подъема лучше использовать цепной или тросовый редуктор с номинальной нагрузкой минимум на 25% выше расчетной массы кабины с грузом.
Закрепите подъемный механизм на прочной несущей конструкции с использованием анкерных болтов М12 и выше. Место установки должно обеспечивать легкий доступ для обслуживания и охлаждения электродвигателя. Рекомендуется монтировать мотор-редуктор на раме с виброизоляционными подкладками из резины толщиной 10 мм, чтобы минимизировать шум и износ.
Подключение электропривода выполняйте согласно схеме с обязательным использованием магнитного пускателя с тепловым реле, рассчитанного на ток не менее 1.5-кратного максимального пускового тока двигателя. Проводка должна иметь сечение, соответствующее нагрузке, не менее 2.5 мм² для двигателей мощностью до 2 кВт.
Обеспечьте установку аварийного стопа с размыкателем цепи питания и концевых выключателей, расположенных в крайних положениях кабины. Концевые выключатели монтируйте на направляющих с точностью фиксации положения ±3 мм для предотвращения чрезмерного хода кабины.
После механического монтажа выполните тестовый запуск без нагрузки, контролируя плавность пуска, отсутствие вибраций и перегрева двигателя. При выявлении шумов или нестабильной работы проведите проверку натяжения ремней или цепей и выравнивание направляющих.
Монтаж системы управления и безопасности лифта

Для обеспечения надежной работы лифта необходимо грамотно установить систему управления и безопасности с учетом характеристик конструкции и нагрузки.
-
Установка контроллера управления: выбирайте промышленный ПЛК с поддержкой протоколов Modbus или CAN для интеграции с датчиками и исполнительными механизмами. Контроллер монтируется в отдельном герметичном шкафу рядом с машинным отделением.
-
Подключение приводного двигателя и датчиков положения:
- Используйте энкодеры с разрешением не менее 1000 импульсов на оборот для точного определения позиции кабины.
- Датчики конечного положения (микрорычажные или оптические) устанавливаются на верхних и нижних точках шахты для предотвращения выхода кабины за пределы.
-
Монтаж кнопочных панелей и интерфейса вызова: панели должны быть влагозащищенными с индикацией текущего этажа и аварийной кнопкой остановки. Кабели прокладываются в гофротрубах с экранированием для снижения электромагнитных помех.
-
Установка системы безопасности:
- Контроль дверей: магнитные или индуктивные датчики блокируют движение лифта при незакрытых дверях.
- Аварийное торможение: механический тормоз с электромагнитным управлением устанавливается на вал двигателя, с подключением к системе аварийного отключения.
- Датчики перегрузки: устанавливаются на платформу кабины, сигнализируют о превышении максимальной грузоподъемности (уточняйте по документации лифта, обычно 300-500 кг).
-
Проверка и тестирование системы:
- Проведите функциональное тестирование каждого элемента управления и безопасности отдельно.
- Настройте программное обеспечение контроллера на плавное ускорение и торможение, а также аварийное отключение при срабатывании датчиков.
- Проверьте работу аварийного освещения и голосового оповещения, если предусмотрены.
Точное соблюдение технических требований и правильная настройка гарантируют безопасную и долговечную эксплуатацию лифта.
Тестирование работоспособности и устранение неполадок
После сборки лифта необходимо провести поэтапное тестирование всех систем. Начинайте с проверки электропитания и управления.
- Подайте питание на двигатель, убедитесь в отсутствии искрения и посторонних шумов.
- Проверьте правильность подключения всех датчиков положения и концевых выключателей.
- Испытайте работу кнопок вызова и панели управления: нажимая кнопки, фиксируйте реакцию лифта и сигналов.
Для проверки плавности движения используйте следующий порядок:
- Запустите подъем и спуск на малой скорости, следите за отсутствием рывков и вибраций.
- Контролируйте работу тормозной системы – лифт должен остановиться точно и без проскальзывания.
- Проверьте надежность фиксации кабины на всех этажах с помощью концевых выключателей.
При обнаружении неисправностей:
- Если двигатель перегревается – проверьте качество контактов и напряжение сети, возможна перегрузка или неправильный подбор электродвигателя.
- Если кнопки не реагируют – проверьте целостность проводки и исправность контроллера, замените поврежденные элементы.
- При срабатывании аварийного стопа без причины – осмотрите датчики на загрязнение и механические повреждения, очистите и отрегулируйте.
- Если лифт движется с рывками – проверьте натяжение тросов, износ подшипников и состояние направляющих рельсов.
Для более точного выявления проблем используйте мультиметр и осциллограф. Регулярно фиксируйте результаты тестов, чтобы отследить динамику работы систем и своевременно устранить сбои.
Требования по эксплуатации и регулярному техническому обслуживанию

Лифт, созданный самостоятельно, требует строго соблюдения правил эксплуатации для обеспечения безопасности и долговечности. Максимальная нагрузка не должна превышать проектную – обычно это 250 кг для бытовых моделей. Перегрузка приводит к ускоренному износу тросов и двигателя.
Перед каждым запуском проверяйте состояние тросов и креплений: отсутствие износа, коррозии, повреждений. Смазывайте тросы специальным маслом минимум раз в три месяца. Не допускайте попадания влаги на механизмы, чтобы избежать ржавчины.
Электропроводка и контрольные устройства требуют визуального осмотра раз в месяц. Проверяйте надежность контактов, целостность изоляции, работу кнопок вызова и аварийной остановки. Не допускайте эксплуатации лифта при любых признаках неисправности электроники.
Тормозная система подлежит проверке с нагрузкой не реже одного раза в шесть месяцев. Регулируйте натяжение тормозных колодок согласно инструкции производителя или техническому паспорту конструкции. Замена изношенных деталей обязательна без промедления.
Кабина лифта должна быть оснащена ограждениями и замками, препятствующими открытию дверей при движении. Проверка и испытания замков проводятся ежеквартально. Убедитесь в отсутствии посторонних предметов в шахте и чистоте направляющих рельсов.
В случае появления посторонних шумов, вибраций или резких остановок – немедленно приостанавливайте эксплуатацию и проводите полную диагностику. Ремонт должен выполняться с отключением питания и при участии квалифицированного специалиста, особенно если затрагиваются электромеханические узлы.
Вопрос-ответ:
Какие материалы и инструменты понадобятся для сборки лифта своими руками?
Для создания лифта самостоятельно потребуются металлические профильные трубы или швеллеры для каркаса, прочные тросы или цепи для подъёма, электрический двигатель с редуктором, система управления (например, кнопки и контроллер), а также крепёжные элементы — болты, гайки, сварочный аппарат и дрель. Важно иметь набор инструментов для измерения, резки металла и сборки конструкции, а также средства индивидуальной защиты.
Как обеспечить безопасность при эксплуатации самодельного лифта?
Безопасность достигается тщательной сборкой всех узлов и использованием качественных материалов. Необходимо предусмотреть защитные ограждения, надёжные тормоза и ограничители движения кабины. Кроме того, важно правильно настроить систему управления, чтобы избежать резких остановок и случайных пусков. Регулярное техническое обслуживание и проверка состояния тросов, двигателя и электроники также играют большую роль в безопасной работе.
Можно ли сделать лифт, который будет работать на нескольких этажах дома?
Да, можно создать лифт с несколькими остановками на разных этажах, однако это требует более сложной системы управления и точного позиционирования кабины. Для этого устанавливаются конечные выключатели или датчики, которые определяют, когда кабина достигла нужного уровня. Сложность возрастает из-за необходимости синхронизации работы двигателя и безопасности пассажиров, поэтому такую конструкцию лучше тщательно продумать и протестировать до эксплуатации.
Насколько сложно изготовить лифт без опыта в электрике и механике?
Если у вас нет опыта в этих областях, создание лифта с нуля будет достаточно сложной задачей. Это связано с необходимостью точной настройки механических и электрических компонентов, а также с обеспечением безопасности. Рекомендуется либо изучить базовые принципы работы электрических двигателей и механизмов подъёма, либо привлечь специалиста для консультации и помощи при сборке и подключении оборудования.
Какие виды подъёмных механизмов подходят для самодельного лифта?
Для самодельного лифта обычно применяются тросовые или цепные подъёмные механизмы. Тросы легче в установке и обслуживании, но требуют качественных креплений и регулярной проверки на износ. Цепные механизмы более надёжны в тяжёлых условиях, однако сложнее в монтаже. Также иногда используют винтовой подъёмник, который обеспечивает плавное движение, но требует точного изготовления деталей и двигателя с достаточной мощностью.
Какие основные этапы включает создание лифта своими руками, и с чего лучше начать?
Создание лифта в домашних условиях требует нескольких ключевых этапов. Сначала нужно продумать проект: определить, где будет установлен лифт, какие размеры и грузоподъемность ему понадобятся. Затем следует выбрать подходящий механизм подъема — это может быть электрический привод с тросами или гидравлическая система. После этого подготавливают монтажное пространство: делают шахту или каркас, обеспечивают прочность конструкции. На следующем шаге устанавливают сам механизм, крепят кабину и систему управления. Важно уделить внимание безопасности — установить ограничители хода, аварийные тормоза и сигнализацию. Начинать лучше с тщательного проектирования и выбора надежных комплектующих, поскольку это залог успешной сборки и безопасной эксплуатации.
