
Берма представляет собой горизонтальную или наклонную полосу, образуемую в теле насыпи, выемки или откоса. Она служит для перераспределения нагрузок, стабилизации грунта и снижения эрозионных процессов. Ширина бермы подбирается в зависимости от высоты насыпи, угла откоса и инженерно-геологических условий участка. Например, при высоте откоса до 8 метров и угле наклона 1:1,5, рекомендуемая ширина бермы составляет не менее 2 метров.
В дорожном и гидротехническом строительстве бермы применяются для организации промежуточных горизонтальных уступов, позволяющих снизить давление на основание сооружения и упростить обслуживание откосов. Кроме того, берма эффективно препятствует смыву грунта при осадках и таянии снега, особенно на участках с повышенной влажностью.
Устройство бермы требует соблюдения определённых технологических норм. В частности, необходимо учитывать несущую способность грунта, наличие подземных вод, а также возможные деформации тела насыпи в процессе эксплуатации. При проектировании берм вблизи инженерных коммуникаций важно обеспечивать необходимый отступ и предусматривать дренажные мероприятия для отвода влаги.
Для повышения устойчивости откосов бермы часто сочетают с укрепляющими конструкциями: габионами, георешётками или растительным покровом. Такие решения позволяют существенно продлить срок службы сооружений и снизить затраты на их содержание. В условиях слабонесущих или подвижных грунтов бермы выполняются в несколько ярусов, с обязательным армированием и водоотводом между уровнями.
Назначение бермы при возведении откосов насыпей и выемок

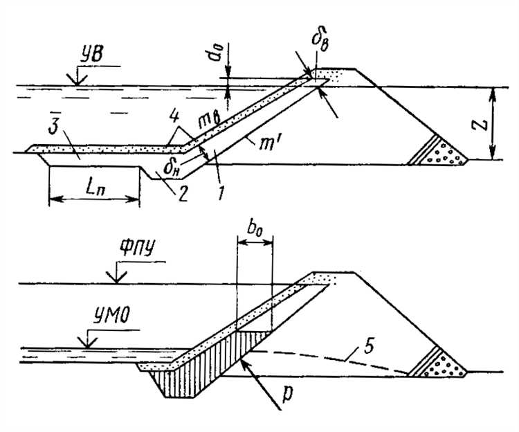
Берма используется для стабилизации откосов насыпей и выемок, предотвращая их разрушение и улучшая эксплуатационные характеристики. Основная задача бермы – уменьшение угла откоса и улучшение его устойчивости за счет создания горизонтальных ступеней. Это важно для предотвращения оползней и сдвигов грунта, особенно на участках с повышенной влажностью или слабым грунтом.
При устройстве насыпей берма служит разгрузочным элементом, распределяя давление на откос и снижая риск его разрушения. Строительство берм проводится с учётом прочности и состава грунтов, а также климата региона. Ширина бермы определяется в зависимости от высоты насыпи и стабильности грунта. Например, для насыпей высотой до 6 метров ширина бермы может составлять от 2 до 4 метров.
При возведении выемок берма выполняет роль защитного барьера, предотвращая осыпание откосов. Особенно это важно для выемок, расположенных в водоносных слоях или в районах с высокой влажностью. Берма способствует равномерному распределению давления и уменьшению эрозионных процессов, создавая дополнительные слои защиты от воздействия внешних факторов.
Важно, что проектирование и строительство берм требует учета специфики участка, в том числе типа грунта, уровня грунтовых вод и нагрузки на насыпь. Например, в условиях слабых и водонасыщенных грунтов предпочтительно использовать более широкие и многослойные конструкции берм, которые могут включать армирование и геосинтетические материалы.
Вместе с этим, правильное размещение и проектирование водоотводных систем на бермах позволяет избежать скопления влаги и улучшить долговечность конструкции, что критично для поддержания стабильности откосов в течение длительного времени.
Требования к ширине и уклону бермы в зависимости от типа грунта

При проектировании откосов насыпей и выемок ширина и уклон бермы определяются устойчивостью конкретного типа грунта. В связных грунтах (глинистых и суглинистых) бермы формируют с меньшим уклоном, поскольку такие породы обладают сравнительно высокой сцепляющей способностью. Для них уклон бермы обычно составляет не более 1:1,5, а минимальная ширина – от 0,5 до 0,7 м при высоте откоса до 5 м.
В нескальных несвязных грунтах (песчаных и супесчаных) требуются более пологие бермы, поскольку эти материалы склонны к осыпанию. Рекомендуемый уклон бермы – от 1:2 до 1:3, а минимальная ширина – не менее 1 м при аналогичной высоте откоса. При увеличении высоты на каждые 5 м дополнительно предусматривается вторая или третья берма с аналогичными параметрами.
В скальных грунтах ширина бермы может быть минимальной – порядка 0,3–0,5 м, так как устойчивость откосов высокая. Однако при наличии трещиноватости или выветрившихся участков применяются уклоны до 1:1,5 с увеличением ширины до 0,8 м для предотвращения локальных обрушений.
Во всех случаях учитываются водоотводные функции бермы. Для грунтов с высоким коэффициентом фильтрации дополнительно закладывается поперечный уклон бермы не менее 2% в сторону дренажной системы, обеспечивая отвод поверхностных вод без размыва основания откоса.
Использование берм для предотвращения сползания и размыва склонов

Бермы снижают риск оползней и эрозии, разделяя откос на ступени, что уменьшает давление на грунт и замедляет поток поверхностных вод. Для глинистых грунтов ширина бермы должна быть не менее 2 м, с уклоном в 3–5% для эффективного отвода воды внутрь насыпи.
На песчаных и супесчаных склонах ширина бермы рекомендуется от 1,5 до 2,5 м с уклоном в сторону откоса, что предотвращает смыв и укрепляет поверхность. В местах интенсивного водооттока бермы дополняют дренажными системами из геотекстиля и гравийной засыпки.
Применение берм с регулярным интервалом уменьшает длину склона, тем самым снижая скорость стока воды и минимизируя размыв. Для склонов с углом более 30° расстояние между бермами принимают не более 4 м, чтобы обеспечить устойчивость откоса.
Правильно спроектированная берма также снижает капиллярное увлажнение основания и уменьшает фильтрационные потоки, что важно для долговечности земляных сооружений. Использование укрепляющих материалов – камня, георешёток или дернины – на поверхности бермы дополнительно повышает её сопротивляемость эрозии.
Роль бермы в дренажной системе строительной площадки
Берма служит ключевым элементом в управлении поверхностными и грунтовыми водами на строительной площадке. Располагаясь горизонтально или с небольшим уклоном, она препятствует свободному стоку воды с откосов и направляет её в предусмотренные дренажные каналы. Это снижает риск размыва оснований и ослабления несущих конструкций.
Оптимальная ширина бермы для эффективного отвода воды зависит от характеристик грунта и интенсивности осадков. Для глинистых и малопроницаемых грунтов рекомендуют ширину от 0,8 до 1,2 метра, что обеспечивает достаточную задержку и перераспределение стока. На песчаных и водопроницаемых грунтах ширина может быть уменьшена до 0,5–0,7 метра при обязательном контроле за уклоном.
Уклон бермы должен быть направлен в сторону дренажных систем и составлять от 2% до 5%, что способствует самотечному отведению воды без застоя и образования локальных размывов. При организации дренажных слоев берма может включать фильтрующий материал (щебень, гравий), предотвращающий закупорку и обеспечивающий долговечность системы.
Правильное устройство бермы в комплексе с траншеями и лотками обеспечивает комплексный контроль над водным балансом участка, минимизирует риск подтопления и увеличивает срок службы фундаментных и подпорных конструкций. Регулярный осмотр и очистка берм от накопившегося мусора и наносов важны для сохранения их функциональности.
Особенности устройства бермы на временных и постоянных сооружениях
Устройство бермы на временных сооружениях ориентировано на быстрое выполнение и минимальные затраты с сохранением основных функций – стабилизации откоса и отвода поверхностных вод. Ширина таких берм обычно варьируется от 0,5 до 1 метра, что достаточно для предотвращения размыва и сползания грунта на короткий срок эксплуатации.
Материалы временных берм могут включать уплотнённый грунт с низким уровнем обработки, гравий, щебень или геотекстиль для стабилизации поверхности. Уклон бермы рекомендуется делать в пределах 2-5° для обеспечения эффективного стока воды без значительных затрат на земляные работы.
- Обеспечить надёжный временный дренаж можно с помощью устройства перфорированных труб или дренажных канавок вдоль бермы.
- Временные бермы должны предусматривать возможность быстрой ликвидации или изменения конфигурации при необходимости.
Для постоянных сооружений требования к берме более строгие. Ширина бермы на таких объектах обычно составляет не менее 1,2–2 метров, что обеспечивает долговременную устойчивость откоса и надёжную защиту от эрозии.
Конструкция постоянной бермы включает усиление основания с помощью геосеток, армирующих слоёв, а также организацию сложных дренажных систем, предотвращающих скопление воды. Уклон поверхности бермы для постоянных сооружений проектируется в диапазоне 5-10°, что снижает вероятность застойных вод и вымывания материала.
- Использование качественных, устойчивых к воздействию влаги материалов (например, гравийно-песчаная смесь с добавлением гидрофобных компонентов).
- Интеграция бермы с общей гидроизоляционной и дренажной системой объекта для снижения нагрузки на откос.
- Обязательное проведение контроля осадки и деформаций в течение первых 6-12 месяцев эксплуатации.
При возведении бермы как на временных, так и на постоянных объектах важно учитывать характеристики грунта, сезонные климатические особенности и особенности проектируемой нагрузки. Временные бермы можно возводить с меньшим запасом прочности, но постоянные требуют комплексного подхода с применением инженерных изысканий и специализированных методов укрепления.
Ошибки при проектировании и обустройстве бермы в практике строительства
Частые ошибки при проектировании бермы приводят к снижению её эффективности и могут вызвать разрушение инженерных сооружений. Неправильный расчет размеров и несоблюдение требований к геометрии бермы – основные причины проблем в работе конструкций.
- Недостаточная ширина бермы. Узкие бермы не обеспечивают должной поддержки откосам, что увеличивает риск сползания грунта. Минимальная ширина должна соответствовать типу грунта и высоте насыпи, например, для глинистых грунтов не менее 0,6–0,8 м.
- Неправильный уклон поверхности бермы. Отсутствие или недостаточный уклон (рекомендуется не менее 3–5%) приводит к задержке воды и развитию эрозии. Это снижает долговечность конструкции и требует дополнительного ремонта.
- Отсутствие дренажных элементов на берме. Игнорирование организации отвода воды из зоны бермы провоцирует накопление влаги, что повышает давление на откос и снижает устойчивость насыпи.
- Применение неподходящих материалов для обустройства. Использование слабых или легко размываемых материалов без защиты ведет к разрушению бермы при дождевых и талых водах. Рекомендуется использовать геотекстиль или каменную наброску для укрепления.
- Несоблюдение последовательности работ при обустройстве. Нарушение этапов укладки и уплотнения грунта снижает прочность бермы и может вызвать ее оседание или деформацию.
- Игнорирование особенностей грунта и рельефа участка. Проектирование бермы без учета местных условий, таких как склонность к вымыванию или просадке, приводит к быстрому износу и необходимости переделок.
Для предотвращения этих ошибок необходимо:
- Проводить точные инженерные изыскания с оценкой несущей способности грунта и гидрологической обстановки.
- Разрабатывать проект бермы с учетом специфики грунтов и требований СНиП.
- Контролировать ширину и уклон во время строительства, используя геодезические приборы.
- Обеспечивать эффективный дренаж с отводом воды за пределы насыпи.
- Использовать устойчивые материалы и защитные слои для повышения долговечности конструкции.
- Обучать строительный персонал технологиям правильного устройства бермы и соблюдать технологическую дисциплину.
Вопрос-ответ:
Что такое берма и какую роль она выполняет при строительстве земляных сооружений?
Берма — это горизонтальная площадка или уступ, располагающийся на откосе насыпи, выемки или на склоне. Она служит для снижения давления на основной грунт, предотвращает смывы и эрозию, а также улучшает устойчивость откоса за счёт разрыва его уклона. Кроме того, бермы создают удобные зоны для технического обслуживания и могут использоваться как опорные площадки при дальнейшем строительстве.
Как рассчитывается ширина бермы в зависимости от типа грунта и высоты насыпи?
Ширина бермы определяется с учётом свойств грунта и высоты откоса. Для скальных или плотных грунтов она может быть меньше — от 0,5 до 1,0 метра, поскольку такие грунты устойчивы к сдвигу. Для слабых, плывунов или песчаных грунтов берма должна быть шире — до 2,0 метра и более, чтобы обеспечить дополнительную зону разгрузки и предотвратить оползни. Также при больших высотах насыпи ширина бермы увеличивается пропорционально, чтобы компенсировать возросшую нагрузку и обеспечить устойчивость.
Какие ошибки чаще всего допускают при проектировании и обустройстве бермы?
Типичные ошибки включают недостаточную ширину бермы, что снижает её эффективность в разгрузке откоса, неправильный уклон, который приводит к застаиванию воды и повышенной эрозии, а также несоблюдение геометрии, что ухудшает прочность насыпи. Иногда берму располагают без учёта водоотведения, что приводит к подтоплению основания и быстрому разрушению конструкции. Игнорирование особенностей грунта и климатических условий также приводит к снижению срока службы бермы и сооружения в целом.
Как берма влияет на организацию дренажной системы строительной площадки?
Берма играет роль барьера для стока воды, направляя её в заданные водоотводные канавы или системы. Благодаря горизонтальной площадке вода не стекает непосредственно по откосу, что уменьшает риск размыва и разрушения. При правильном уклоне и конструкции берма способствует сбору и отводу поверхностных вод, предотвращая подтопление оснований и снижая нагрузку на дренажные устройства. Это особенно важно на участках с интенсивными осадками и подвижными грунтами.
Можно ли использовать бермы на временных строительных объектах и каковы особенности их устройства в таких случаях?
Да, бермы применяются и на временных объектах для повышения безопасности и стабильности откосов. Временные бермы обычно выполняются с меньшей шириной и могут иметь упрощённую конструкцию, но всё равно должны обеспечивать эффективный отвод воды и предотвращать оползни. Для временных сооружений важно учитывать возможность быстрой установки и демонтажа, а также использование материалов, которые не требуют длительного ухода. При этом необходимо соблюдать минимальные нормы, чтобы избежать аварийных ситуаций во время строительства.
