
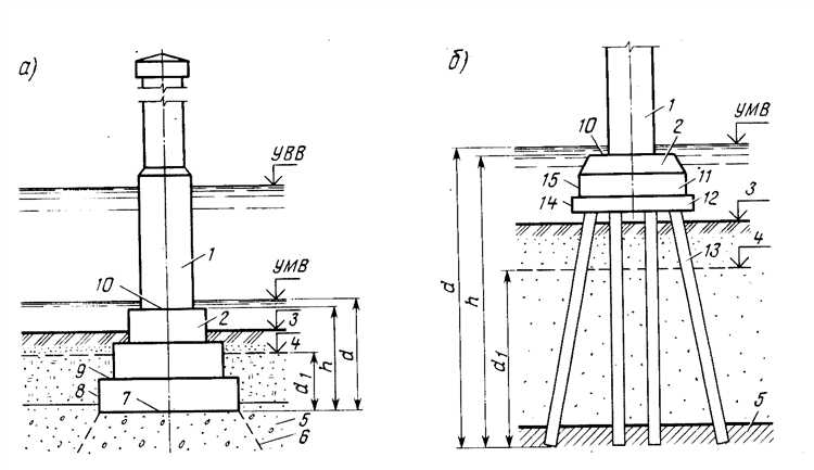
Выступ фундамента за пределы наружной плоскости стены называется фундаментным уступом или вылетом фундамента. Его основная функция – равномерное распределение нагрузки от конструкции на основание и увеличение опорной площади. Такой элемент чаще всего применяется при устройстве ленточного фундамента на слабонесущих грунтах.
Оптимальная ширина уступа зависит от материала и толщины стены, а также от характеристик грунта. Для кирпичных и бетонных стен минимальный размер выступа – не менее 50 мм с каждой стороны, но в ряде случаев он может достигать 100–150 мм для повышения устойчивости. Нарушение этих параметров приводит к концентрации напряжений и последующим деформациям кладки.
При проектировании уступа необходимо учитывать уровень промерзания грунта, возможные подвижки основания и тип фундамента. Для предотвращения накопления влаги на выступе рекомендуется устраивать уклон в сторону от стены или использовать гидроизоляционные материалы. Дополнительно важно обеспечить термоизоляцию выступа для исключения мостиков холода, особенно в угловых участках здания.
Терминология: как правильно называется выступ фундамента

Выступ фундамента от стены называется фундаментным уступом. Этот элемент конструкции обеспечивает опору для кладки стен, увеличивает площадь распределения нагрузки и снижает давление на грунт. В технической документации и строительных чертежах также может использоваться термин уступ фундамента или расширение основания.
Фундаментный уступ встречается преимущественно в ленточных и плитных фундаментах. Его ширина должна превышать ширину стены минимум на 50–100 мм с каждой стороны, но точное значение определяется расчётами несущей способности основания и характеристиками грунта.
При проектировании уступа учитываются следующие параметры:
- тип материала стен (кирпич, газобетон, монолит и др.);
- глубина промерзания грунта;
- расчётная нагрузка от здания;
- тип грунта под подошвой фундамента.
Некорректное обозначение уступа как «свес» или «выход» фундамента не соответствует строительной терминологии и может ввести в заблуждение при составлении проектной документации. При взаимодействии с проектировщиками и подрядчиками рекомендуется использовать точные определения: уступ, фундаментное расширение.
Зачем делают выступы фундамента за пределы стены

Выступы фундамента за пределы стены выполняют несколько ключевых функций, направленных на повышение прочности и долговечности конструкции. Их проектирование требует точного расчета с учетом нагрузок и геологических условий участка.
- Распределение нагрузки: выступ увеличивает площадь опоры, снижая давление на грунт. Это критично при строительстве на слабонесущих или подвижных почвах.
- Защита от смещений: при боковом давлении грунта или неравномерной усадке, выступы предотвращают сдвиги и крены конструкции.
- Поддержка несущих элементов: в домах с кирпичными или блочными стенами, выступ компенсирует вынос кладки, особенно при наличии облицовки или утеплителя.
- Устойчивость к морозному пучению: при пучинистых грунтах выступы препятствуют выдавливанию фундамента из земли в зимний период.
- Гидроизоляционная защита: удлиненный фундамент позволяет эффективнее организовать водоотвод, направляя воду от стены, снижая риск намокания и разрушения основания.
- Экономия на армировании: при правильно рассчитанном выступе уменьшается необходимость в избыточном армировании стен, поскольку нагрузка распределяется более равномерно.
Оптимальная ширина выступа составляет 50–100 мм с каждой стороны стены, но точное значение зависит от расчета несущей способности и климатических условий. Нельзя допускать перегрузки выступа – превышение допустимого выноса приводит к трещинам и осадке фундамента.
Виды выступов фундамента и их конструктивные особенности

Выступ фундамента от стены называется уступом или консолью и выполняет функции перераспределения нагрузки, увеличения опорной площади или защиты от промерзания. Существуют несколько видов выступов, каждый из которых применяется в зависимости от типа здания и условий эксплуатации.
Горизонтальный уступ образуется при увеличении ширины подошвы фундамента по сравнению с толщиной стены. Чаще всего используется в ленточных и столбчатых фундаментах, где необходимо уменьшить давление на слабый грунт. Рекомендуется, чтобы ширина выступа с каждой стороны не превышала 150 мм без дополнительного армирования.
Вертикальный уступ создаётся в случае ступенчатого заглубления фундамента. Такая конструкция применяется на участках с уклоном или разными глубинами промерзания. Каждый уровень должен иметь горизонтальную площадку не менее 300 мм, чтобы обеспечить равномерную передачу нагрузки.
Консольный выступ используется для создания крыльца, навеса или эркера. Он требует точного расчёта армирования и жесткой связи с основной частью фундамента. При выносе более 300 мм обязательна установка консольной арматуры с анкеровкой в теле фундамента.
Монолитный выступ заливается одновременно с основным фундаментом и обеспечивает максимальную прочность соединения. Применяется при строительстве зданий с тяжелыми наружными стенами из кирпича или бетонных блоков. Для повышения прочности используется пространственный каркас из арматуры с шагом не более 200 мм.
Выступы, создаваемые с помощью бетонных плит или доборных элементов, используются в реконструкции или при необходимости изменения геометрии фундамента. Необходимо обеспечить надежную гидроизоляцию и компенсаторы деформации во избежание трещинообразования.
Нормы и СНиП: допустимые размеры выступов фундамента

Минимальный выступ фундамента по требованиям СНиП не должен быть менее 50 мм по отношению к наружной плоскости стены. Это необходимо для защиты нижней части стены от влаги и механических повреждений.
Максимальный выступ ограничен конструктивной устойчивостью и типом грунта. При ленточных фундаментах для малоэтажных зданий выступ не должен превышать 1/3 толщины стены, но не более 100 мм без дополнительного армирования. Превышение этого значения требует перерасчета несущей способности с учетом эксцентриситета нагрузки.
Согласно СП 50-101-2004, ширина подошвы фундамента должна обеспечивать равномерное распределение нагрузки по основанию. Выступы в сторону от центра стены должны учитывать расчетную ширину подошвы и не нарушать ее симметрию, иначе возникают горизонтальные смещения.
Для монолитных фундаментов с уширением (например, в виде трапецеидальной подошвы) допустим выступ до 150 мм при условии армирования по нижнему поясу. Без усиления – не более 80 мм. При устройстве утепленной отмостки край фундамента может выступать на 50–70 мм от стены, чтобы создать эффективный капельник.
Если выступ применяется в цокольной части, СНиП 3.03.01-87 требует соблюдения защитного слоя бетона не менее 30 мм при наружном размещении арматуры, особенно в зонах с переменным промерзанием.
Как рассчитать ширину выступа для конкретной стены
Ширина выступа фундамента зависит от материала стены, её толщины и типа грунта. Расчёт производится для обеспечения устойчивости конструкции и защиты от промерзания.
- Определите толщину стены. Например, для стены из кирпича толщиной 510 мм (два кирпича) значение будет 510 мм.
- Добавьте минимальный выступ по обе стороны стены. Для плотных грунтов – 50 мм с каждой стороны, для слабых – до 100 мм.
- Сложите полученные значения. Для кирпичной стены 510 мм + 2 × 100 мм = 710 мм. Это минимальная ширина фундамента.
Если с одной стороны предусмотрена теплоизоляция или облицовка, увеличьте выступ с этой стороны на толщину соответствующего слоя.
- Для пенопласта: прибавьте 50–100 мм.
- Для облицовочного кирпича: прибавьте 120 мм.
При наличии цокольного утепления ширина фундамента должна учитывать ширину утеплителя плюс защитный слой (например, 100 мм утеплитель + 30 мм штукатурки = 130 мм дополнительного выступа).
Итоговая формула: Ширина фундамента = Толщина стены + 2 × (минимальный выступ + доп. элементы).
Расчёт следует выполнять с учётом проектной нагрузки, указанной в СП 22.13330.2016. Для зданий до двух этажей при плотных грунтах допускается отклонение не более 10% от расчётной ширины.
Чем отделать выступающую часть фундамента

Выступ фундамента, или цоколь, нуждается в надежной защите от влаги и механических повреждений. Оптимальным решением станет отделка материалами с высокой прочностью и водонепроницаемостью.
Часто применяют цементно-песчаную штукатурку с гидроизоляционными добавками. Такая отделка обеспечивает защиту от атмосферных воздействий и продлевает срок службы основания.
Облицовка плиткой из керамогранита или клинкерным кирпичом обеспечивает декоративный эффект и устойчивость к истиранию. Плитка монтируется на цементный раствор с армирующей сеткой, что предотвращает растрескивание.
Натуральный или искусственный камень применяется для усиленной защиты и придает фасаду выразительный вид. Для фиксации используют морозостойкие клеевые смеси, способные выдерживать сезонные перепады температур.
Металлические профильные панели или цокольные сайдинги обеспечивают быстрое и легкое монтажное решение, а также защиту от проникновения влаги и механических воздействий. Необходимо обеспечить вентиляционный зазор для предотвращения конденсата.
Важно учитывать совместимость выбранного материала с гидроизоляционным слоем фундамента. Перед отделкой выступ обрабатывают антисептиками и грунтовками глубокого проникновения для повышения адгезии и защиты от плесени.
Ошибки при проектировании и строительстве фундамента с выступом

Нарушение технологии армирования выступа снижает прочность узла примыкания стены к фундаменту. Арматура должна заходить в тело стены не менее чем на 40 см и обеспечивать надежное сцепление с бетоном, иначе возникает риск выкрашивания и локальных повреждений.
Использование неподходящего бетона с низкой маркой прочности также снижает долговечность выступа. Минимальная марка бетона для таких элементов – М300, а оптимально – М350 и выше, особенно при работе в агрессивных грунтовых условиях.
Неправильный выбор глубины заложения выступающего фундамента часто приводит к его подмыву и подвижкам из-за пучения грунта. Глубина должна соответствовать глубине промерзания с запасом не менее 20%, чтобы избежать смещений в холодный период.
Ошибки в гидроизоляции выступа приводят к проникновению влаги и постепенному разрушению бетона. Гидроизоляционный слой необходимо наносить не только на вертикальную, но и на нижнюю горизонтальную поверхность выступа, чтобы предотвратить капиллярное поднятие влаги.
Недостаточный контроль качества уплотнения грунта под выступом приводит к неравномерной осадке и трещинам. Рекомендуется применять послойное уплотнение и геотекстиль для стабилизации основания.
Вопрос-ответ:
Как называется выступ фундамента, который выходит за пределы стены здания?
Такой выступ фундамента называют цоколем или фундаментной оттяжкой. Он служит для увеличения площади опоры и равномерного распределения нагрузки на грунт.
Для чего нужен выступ фундамента от стены и как он влияет на устойчивость здания?
Выступ фундамента помогает расширить опорную площадь, что снижает давление на грунт и уменьшает риск просадки. Это повышает прочность и долговечность конструкции, особенно на слабых почвах.
Какие виды выступов фундамента существуют и чем они отличаются?
Выделяют цокольный выступ и фундаментную оттяжку. Цоколь — это видимый выступ, который часто отделывают декоративно. Оттяжка — это утолщение или расширение в основании, не всегда заметное внешне, но усиливающее несущую способность.
Можно ли самостоятельно сделать выступ фундамента от стены при строительстве дома?
Такую работу лучше доверить специалистам, так как расчет размеров и формы выступа зависит от многих факторов: типа грунта, веса здания, климатических условий. Ошибки могут привести к трещинам и деформациям.
Как определить правильный размер выступа фундамента для частного дома?
Размер выступа рассчитывается исходя из нагрузок от здания и несущей способности грунта. Обычно он составляет от 10 до 30 см, но точные параметры устанавливаются инженером-проектировщиком с учетом конкретных условий участка и конструкции.
