
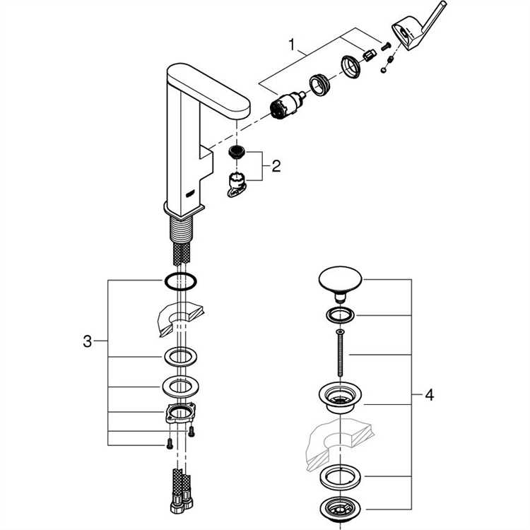
Смесители Grohe часто оснащаются ручками с винтовым креплением под декоративной заглушкой или прижимным кольцом. Для демонтажа потребуется шестигранный ключ на 2,5 или 3 мм, в зависимости от модели, а также тонкая отвертка для снятия заглушки. В некоторых сериях, например Grohe Eurosmart или Grohe Concetto, винт располагается снизу под ручкой, ближе к корпусу.
Перед началом работы перекройте подачу воды. Остаточное давление в системе можно снять, открыв кран. Это предотвратит случайное подтекание при снятии ручки. Также подготовьте мягкую ткань, чтобы не повредить хромированное покрытие при демонтаже.
Если ручка не снимается после откручивания винта, её можно аккуратно расшевелить рукой, без применения рывков. В случае закисания соединения допустимо использовать каплю смазки WD-40, но избегайте её попадания внутрь картриджа. После снятия ручки открывается доступ к крепёжной гайке картриджа или к регулировочному механизму, в зависимости от конструкции модели.
Определение типа крепления ручки смесителя Grohe

Перед снятием ручки необходимо точно определить тип её крепления. У смесителей Grohe наиболее распространены два варианта: винтовое крепление с декоративной заглушкой и фиксатор в виде бокового винта под шестигранник.
Осмотрите основание ручки. Если видно круглую заглушку с логотипом холодной и горячей воды, аккуратно подденьте её пластиковой или деревянной палочкой. Под ней, как правило, скрыт крепёжный винт с крестообразным шлицем.
Если заглушки нет, осмотрите боковую поверхность основания ручки. В моделях типа Grohe Eurodisc, Eurosmart или Concetto часто используется боковой винт под шестигранник 2.5 мм. Его видно сбоку или снизу основания, ближе к корпусу смесителя.
Для точного определения используйте фонарик и увеличительное стекло. При отсутствии доступа к винту ручка может быть установлена на шлицевой шток без винтового крепления и фиксироваться за счёт плотной посадки. В этом случае потребуется равномерное усилие вверх при снятии.
Подбор инструмента для демонтажа ручки
Для снятия ручки смесителя Grohe потребуется минимальный набор инструментов. Все действия выполняются аккуратно, чтобы не повредить декоративные элементы и рабочие узлы.
- Шестигранный ключ (обычно 2,5 мм или 3 мм) – основной инструмент. Применяется для откручивания фиксирующего винта, расположенного под декоративной заглушкой или с нижней стороны ручки.
- Отвертка с плоским лезвием – используется для поддевания заглушки, закрывающей винт. Кончик отвертки должен быть тонким, чтобы не оставить царапин на поверхности.
- Тряпка из микрофибры – подложить под инструмент при снятии заглушки или ручки, чтобы не повредить хромированное покрытие.
- Фонарик – удобен для подсветки труднодоступных мест, особенно при скрытом креплении.
Перед началом работы отключи подачу воды и закрой сливное отверстие, чтобы исключить потерю мелких деталей.
Отключение подачи воды перед разборкой

Перед началом демонтажа ручки смесителя Grohe необходимо полностью перекрыть подачу холодной и горячей воды. Для этого откройте доступ к запорным вентилям, расположенным под раковиной или в сантехническом шкафу.
Поверните вентиль подачи холодной воды по часовой стрелке до упора. Аналогично перекройте вентиль горячей воды. Убедитесь, что оба вентиля закрыты, проверив отсутствие напора при открытии смесителя.
Если индивидуальные вентили отсутствуют или не работают, перекройте воду на общем стояке. Обычно для этого требуется повернуть вентиль, расположенный рядом с водосчетчиком.
После отключения воды полностью откройте смеситель, чтобы сбросить остаточное давление и слить оставшуюся воду из системы. Это предотвратит протечки во время разборки.
Подготовьте емкость или тряпку под местом работы, особенно если конструкция смесителя предусматривает слив остатков воды после снятия декоративных элементов.
Поиск фиксирующего винта на ручке смесителя

Фиксирующий винт обычно расположен под декоративной заглушкой. Заглушка может быть пластиковой или металлической, чаще всего с логотипом Grohe или цветовой маркировкой горячей и холодной воды. Для снятия заглушки используйте пластиковую лопатку или тонкую отвертку, чтобы не повредить поверхность ручки.
После снятия заглушки становится виден винт. В моделях Grohe чаще всего используется винт под шестигранник (2.5 мм или 3 мм). Реже встречаются винты под крестообразную отвертку. Важно заранее определить тип винта, чтобы не повредить его при откручивании.
Некоторые модели имеют винт с нижней стороны ручки. В этом случае нужно осмотреть основание ручки при помощи зеркала или на ощупь. Освещение с боковым углом помогает выявить углубление под инструмент.
При наличии известковой отложений винт может быть скрыт. В таком случае рекомендуется обработать ручку слабым раствором уксуса и подождать 10–15 минут перед повторным осмотром.
Откручивание винта и снятие декоративной накладки
Перед разборкой перекройте подачу воды. Убедитесь, что смеситель сухой, чтобы избежать скольжения инструмента.
- Осмотрите ручку: винт может быть скрыт под декоративной заглушкой. Обычно она расположена на лицевой стороне ручки и выполнена из пластика или металла.
- Подденьте заглушку тонкой плоской отвёрткой или пластиковым шпателем. Работайте аккуратно, чтобы не повредить поверхность.
- После снятия заглушки станет виден крепёжный винт. В моделях Grohe чаще используется шестигранник на 2.5 или 3 мм.
- Вставьте подходящий ключ и открутите винт, вращая против часовой стрелки. Не допускайте перекоса, чтобы не сорвать грани.
- После откручивания винта снимите ручку, аккуратно потянув на себя. При залипании прокрутите её вправо-влево, чтобы ослабить зажим.
Все действия выполняйте без применения усилия – при правильно подобранном инструменте детали отходят без сопротивления.
Снятие ручки без повреждения корпуса смесителя

Перед началом работы перекройте подачу воды. Осмотрите ручку: обычно сверху есть декоративная заглушка, скрывающая винт крепления. Аккуратно подденьте её тонким плоским инструментом или ногтем, чтобы не поцарапать поверхность.
Под заглушкой находится винт, который фиксирует ручку на валу. Используйте отвертку соответствующего размера (обычно крестовую или шестигранник), чтобы выкрутить винт. Не прикладывайте чрезмерных усилий, чтобы не сорвать резьбу.
После выкручивания винта слегка покачайте ручку из стороны в сторону, чтобы ослабить её посадку. Если ручка не снимается, нанесите вокруг основания каплю WD-40 или аналогичного средства и подождите 5–10 минут для проникновения.
Для снятия ручки без повреждений используйте деревянную лопатку или пластиковый инструмент, аккуратно поддевая её у основания, равномерно распределяя усилие. Металлические инструменты могут повредить покрытие корпуса.
При сильном заедании можно применить резиновый молоток, лёгкими ударами по ручке снизу вверх. После снятия осмотрите вал и очистите от налёта и грязи перед установкой новой ручки.
Очистка посадочного места и проверка износа

После снятия ручки тщательно очистите посадочное место от известкового налета, грязи и остатков уплотнительных материалов. Используйте мягкую щетку или тряпку с уксусным раствором (1 часть уксуса на 3 части воды) для удаления отложений. Промойте место чистой водой и просушите.
Осмотрите поверхность на предмет коррозии, трещин и повреждений. Особое внимание уделите посадочному отверстию и шпинделю – любые деформации могут привести к подтеканию или затруднению работы смесителя.
Проверьте состояние уплотнительных колец и прокладок. Если они потеряли эластичность, имеют трещины или деформированы, замените их новыми, подходящими по размеру и материалу.
При обнаружении значительного износа металлических частей рекомендуется заменить соответствующие детали или обратиться к специалисту для ремонта, так как дальнейшая эксплуатация может привести к неисправностям.
Вопрос-ответ:
Какие инструменты нужны для снятия ручки смесителя Grohe?
Для снятия ручки смесителя Grohe обычно потребуются: шестигранный ключ (обычно на 2,5 или 3 мм), отвертка с плоским лезвием, а иногда пассатижи. Иногда может понадобиться и тряпка или резиновая прокладка, чтобы не повредить поверхность. Перед началом работы рекомендуется перекрыть подачу воды.
Как правильно найти и снять фиксирующий винт на ручке Grohe?
Фиксирующий винт чаще всего расположен сбоку или под декоративной заглушкой на ручке. Чтобы получить доступ к нему, аккуратно подденьте заглушку плоской отверткой. Затем с помощью шестигранного ключа отверните винт против часовой стрелки. После этого ручку можно осторожно снять, при этом не стоит прилагать чрезмерные усилия, чтобы не сломать пластиковые детали.
Почему ручка Grohe не снимается после откручивания винта?
Иногда ручка может прочно зафиксироваться из-за накипи или ржавчины на внутреннем валу. В таком случае можно аккуратно постучать по ручке резиновым молотком или приложить немного проникающей смазки (например, WD-40) на стык между ручкой и корпусом. После этого подождите 10-15 минут и попробуйте снова снять ручку, слегка покачивая её из стороны в сторону.
Как избежать повреждений при снятии ручки смесителя Grohe?
Чтобы не повредить ручку и корпус смесителя, используйте инструменты с осторожностью и подбирайте ключи по размеру точно. Лучше всего обернуть ручку мягкой тряпкой перед работой, чтобы защитить поверхность от царапин. Не применяйте чрезмерную силу — если ручка не снимается, лучше использовать проникающую смазку и терпеливо попробовать снова.
Можно ли снять ручку Grohe самостоятельно без помощи сантехника?
Да, снятие ручки Grohe обычно не требует специальных навыков и может быть выполнено самостоятельно. Главное — иметь нужные инструменты и следовать последовательности: перекрыть воду, найти винт, аккуратно снять заглушку, открутить винт и аккуратно снять ручку. Если возникают трудности с застарелыми загрязнениями, поможет проникающая смазка и терпение.
